Виробником свердлильного верстата моделі 2Т150 є Гомельський завод верстатних вузлів ДЗСУ , заснований у 1961 році.
Завод вже понад 50 років випускає верстати токарні з ЧПУ; верстати токарно-гвинторізні; верстати свердлильні; вузли верстатів.
У 1970 році завод приступив до виготовлення вузлів до токарно-гвинторізних верстатів: коробки подач та фартухи.
З 1976-1991 роки завод входив до складу Московського виробничого об'єднання "Червоний Пролетар".
Свердлильний верстат 2Т150 призначений для свердління отворів, розгортання, зенкування, нарізування різьблення в дрібних та середніх деталях з чавуну, сталі, кольорових сплавів та неметалічних матеріалів в умовах промислових підприємств, ремонтних майстерень та побутових майстерень.
Простота конструкції верстата 2Т150 забезпечує легкість керування, надійність та довговічність.
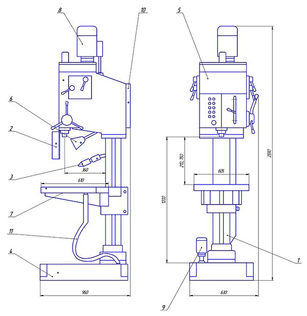
Основними вузлами верстата є:
Шпиндельна бабка верстата закріплена на верхній частинині круглої колони і обертається в горизонтальній площині в межах 180 °.
Свердління на вертикальному верстаті 2Т150 здійснюється подачею шпинделя вручну або механічно. Верстат має 9 механічних подач шпинделя.
Ручна подача контролюється за плоскою шкалою або упором.
Механічна подача шпинделя відключається автоматично при досягненні заданої глибини отвору, що задається регульованим упором глибини свердління або спрацьовування запобіжною муфтою при перевантаженні.
Механічна коробка швидкостей з шестерним редуктором забезпечує 12 ступенів швидкості обертання шпинделя.
Увімкнення-вимкнення обертання шпинделя та його реверсування забезпечується рукояткою реверсу шпинделя.
Пристрій для нарізування різьблення з автоматичним реверсуванням обертання шпинделя при досягненні заданої глибини різьблення.
Стіл рухливий - переміщається колоною в межах 520 мм і навколо колони на 180°. Затискач на колоні вручну.
Вертикально-свердлильний верстат 2Т150 є аналогом верстата TCA-50 іспанської фірми ERLO TALADROS Y ROSCADORAS, SLU (ERLO, ТОВ свердлильні та різьбонарізні верстати). Має відмінні ергономічні, естетичні, технічні якості, простий в обслуговуванні та експлуатації.

Фото вертикально-свердлувального верстата 2Т150

Розташування основних вузлів вертикально-свердлувального верстата 2Т150
| Найменування параметру | 2T118 | 2Т125 | 2Т140 | 2Т150 |
|---|---|---|---|---|
| Основні параметри верстата | ||||
| Найбільший діаметр свердління сталі 45, мм | 18 | 25 | 40 | 50 |
| Найбільший діаметр свердління у чавуні СЧ20, мм | 32 | 45 | 60 | |
| Найбільший діаметр різьби, що нарізається, в сталі 45, мм | M4..M16 | М20 | M24 | M42 |
| Найменша та найбільша відстань від торця шпинделя до столу | - | 0..620 | 0..700 | 210..750 |
| Найменша та найбільша відстань від торця шпинделя до плити | 100..500 | 740..900 | 910..1100 | 1200 |
| Відстань від осі вертикального шпинделя до колони, що утворює (виліт), мм | 195 | 260 | 300 | 360 |
| Точність отворів після розгортання | H9 | |||
| Робочий стіл | ||||
| Розмір робочої поверхні плити, мм | 250 х 250 | 500 x 525 | 560 x 560 | 615 x 630 |
| Розмір робочої поверхні столу, мм | - | 400 х 500 | 500 х 500 | 610 x 605 |
| Сумарний кут повороту столу навколо колони, град | - | 180° | 180° | 180° |
| Сумарний кут повороту столу навколо власної осі, град | - | - | 300° | - |
| Переміщення столу по колоні найбільше, мм | - | 590 | 500 | 540 |
| Діаметр колони, мм | 120 | 145 | 180 | |
| Свердлильна головка. Шпіндель | ||||
| Найбільше переміщення шпиндельної головки (бабки) колоною, мм | 300 | - | 240 | - |
| Хід гільзи шпинделя, мм | 110 | 160 | 160 | 260 |
| Частота обертання шпинделя, об/хв | 200, 320, 560, 800, 1200, 2100 | 80..2000 | 75..1800 | 40..1730 |
| Кількість швидкостей шпинделя | 6 | 8 | 8 | 12 |
| Кількість подач шпинделя | 2 | 3 | 3 | 9 |
| Величина подач шпинделя | 0,1; 1,2 | 0,1; 0,2; 0,3 | 0,1; 0,2; 0,3 | 0,06..1,5 |
| Конус шпинделя | Морзе 2 | Морзе 3 | Морзе 4 | Морзе 5 АТ6 |
| Вимкнення подачі при досягненні заданої глибини свердління | Ручне, автоматичне | Ручне, автоматичне | Ручне, автоматичне | Ручне, автоматичне |
| Реверсування шпинделя на заданій глибині різьблення | Ручне, автоматичне | Ручне, автоматичне | Ручне, автоматичне | Ручне, автоматичне |
| Найбільший крутний момент на шпинделі, Нм | 70 | 150 | 400 | |
| Найбільше зусилля подачі шпинделя, Н | 6000 | 11 400 | 15 000 | |
| Електроустаткування. Привід | ||||
| Електродвигун приводу головного руху Потужність, кВт | 0,75 | 1,5 | 2,2 | 4 |
| Електродвигун приводу насоса охолодження, кВт | - | 0,18 | 0,18 | 0,18 |
| Габарит та маса верстата | ||||
| Габарити верстата (довжина ширина висота), мм | 665 х 465 х 1285 | 950 х 560 х 2200 | 770 х 540 х 2140 | 960 х 630 х 2590 |
| Маса верстата (нетто), кг | 150 | 430 | 575 | 850 |
Робота заповнює час, відпущений неї.
Перший закон Паркінсона