metalinstryment.com
Довідник по металорізальних верстатів та пресовому обладнанні

УГ9321 Автоматическая шестипозиционная револьверна головка
Схеми, опис, характеристики

УГ9321 Автоматическая шестипозиционная головка







Відомості про виробника револьверної головки УГ9321

Разработчиком і изготовителем револьверних головок УГ9321 является Московский станкостроительный завод "Красный пролетарий" им. А.И. Ефремова і Гомельский завод станочных вузлів ГЗСУ, основанный в 1961 году.





Продукция Гомельского завода станочных вузлів ГЗСУ


УГ9321 головка револьверна автоматическая шестипозиционная для токарных верстатів з ЧПУ. Назначение, область применения

Головка автоматическая шестипозиционная УГ9321 предназначена для установки, крепления і автоматичною индексации режущего і вспомогательного инструмента на токарных верстатах з ЧПУ.


УГ9321 Габаритные розміри автоматичною револьверної головки

Габаритные розміри универсальной автоматичною головки УГ9321

Габаритные розміри револьверної головки УГ9321


УГ9321 Загальний вигляд автоматичною шестипозиционной головки

Загальний вигляд  универсальной автоматичною головки УГ9321

Фото автоматичною револьверної головки УГ9321


УГ9321 автоматическая головка на станке

Загальний вигляд  универсальной автоматичною головки УГ9321

Фото автоматичною револьверної головки УГ9321


Конструкція универсальной автоматичною головки УГ9321

Конструкція универсальной автоматичною головки УГ9321

Конструкція револьверної головки УГ9321

Конструкція револьверної головки УГ9321. Дивитись у збільшеному масштабі


Пристрій і робота автоматичною револьверної головки УГ 9326

Конструкція головки показана на рис.2.

Рух от електродвигуна (17), встроенного в гильзу (21) корпуса (23) посредством поводковой муфты, выполненной на торце вала ротора (16) і водила (24) планетарного редуктора, сообщается блоку сателлитов (12). Один из них сопрягается з нерухомим зубчатым колесом внутреннего зацепления (26), а другой - з подвижным зубчатым колесом (9), на ступице которого выполнена трапецеидальная резьба, а на торце - зубчатая муфта. Посредством етой муфты і гвинта (3) осуществляется соединение детали (9) з кулачком керування индексацией (4). Радиальной опорой детали (9) служат бронзовые полукольца (29), торцевые - підшипники (10) і (11).

С резьбой на детали (9) сопрягается фланец-гайка (8), прикрепленный к шпинделю (5) головки, который може совершать вращательное і поступательное движение. К шпинделю прикреплены инструментальный диск (1) і фиксирующая полумуфта (31) з круговым зубом. Вторая полумуфта (30) закреплена на корпусе головки.

На торце гильзы (21) установлен датчик (13) углового положения инструментального диска, выполненный на герметичных магнитоуправляемых контактах (герконах) і соединенный з фланцем шпинделя посредством валика (22) і муфты (20). Датчик защищен кожухом.

В нише корпуса помещаются набор клеммных зажимов електрокоммуникаций головки, PC-цепочки двигуна і микровыключатель (14) контроля сцепления полумуфт (30) і (31).

Увімкнення подачі СОЖ на инструментальный диск осуществляется при нажатии диском на толкатель клапана (6), встроенного в планку (7), пpикpeпляемyю к корпусу головки.

Работа головки

Головка работает по циклу, при котором за исходное положение принято показанное на рис.2, зафиксированное положение: снятие зусилля і расцепление плоскозубых муфт, поворот инструментального диска до заданной позиции, предварительная фиксация, сцепление муфт і сжатие их з необходимым усилием.

При пуске двигуна начинается вращение детали (9) і кулачка (4) против часовий стрелки. Поскольку полумуфты (3O) і (31) сцеплены і шпиндель не може вращаться, за счет взаимодействия різьб на деталь(8) і (9) происходит расцепление полумуфты. К окончанию расцепления приурочено соприкосновение уступа кулачка з пальцем (35). При продолжении поворота фиксатор (34) под воздействием скосов на дет.(32) входит в паз на кулачке, обеспечивая сцепление приводу і шпинделя. Когда инструментальный диск достигает необходимого углового положения, по команде датчика (19) осуществляется реверсирование двигуна к, соответственно, изменение направления обертання деталей головки. При етом фиксаторы (33) і (34) западают в лазы фланца (32), кулачек освобождается і происходит расцепление приводу і шпинделе. При дальнейшем вращении приводу осуществляется сцепление фиксирующих полумуфт і создание на них необходимого натяга, величина которого зависит от установки токового реле ланцюги двигуна в електросхеме верстата. Токовое реле управляет отключением електродвигуна.

Основні регулировки

Поворот шпинделя должен начинаться після его выхода из сцепления полумуфт на 0,5 ± 0,2 мм. Эта величина настраивается перестановкой кулачка по торцевым зубцам дет.(9). Перестановка на один зуб дает перемещение шпинделя на 0,45 мм.

Для правильной фиксации шпинделя необходим его перебег, относительно заданной позиции на 5°...3°. Эта величина устанавливается поворотом датчика (19).

Микровыключатель (14) должен срабатывать за 0,5...1,5 мм до кінця ходу шпинделя, ето достигается переміщенням планки (13) микровыключателя.





УГ9321 Кінематична схема универсальной автоматичною головки

Кінематична схема универсальной автоматичною головки УГ9321

Кінематична схема револьверної головки УГ9321

Кінематична схема головки приведена на рис.3. Планетарный редуктор, выполненный по схеме 2К-Н имеет два исполнения по передаточному числу, а именно:


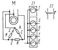
УГ9321 Електрична схема универсальной автоматичною головки

Електрична схема универсальной автоматичною головки УГ9321

Електрична схема револьверної головки УГ9321

В головке установлено следующее електрообладнання:


УГ9321.0300.000 Инструментальный диск шестипозиционный револьверної головки

Инструментальный диск восьмипозиционный револьверної головки УГ9321.0300.000

Инструментальный диск револьверної головки УГ9321


Инструментальный диск восьмипозиционный револьверної головки УГ9321.0300.000

Инструментальный диск револьверної головки УГ9321


Использование головок при центровых работах

На головках УГ9324 і УГ9325 инструмент для центровых работ устанавливается з помощью вспомогательных втулок в расточки инструментального диска.

Подача СОЖ осуществляется в рабочей позиции через вспомогательные втулки.

На головках УГ9321 (рис.5) инструмент для центровых работ устанавливается в блоки (I), которые монтируются на торцевой поверхности инструментальной головки в позициях 1,3,5. При установці блока необходимо вывернуть пробку 2 и, в случае роботи з СОЖ, ослабить винт 4, вынуть шарик 3 і ввернуть пробку 2 в резьбу 5.

Диски инструментальные восьмипозиционные предназначены для установки резцедержателей з цилиндрическим хвостовиком ГОСТ 24900 (DIN 69880) диаметром 40 мм.

Диски изготавливаются з припусками в отверстиях под инструмент з диаметрами D4.

Окончательная обработка отверстий D4 в размер 40Н7 производится по месту з установкой на конкретной делительной головке.

Диски инструментальные изготавливаются на ОАО «Барановичский завод станкоприладдя» — производителе универсальной зажимной технологической оснастки, для комплектации металлорежущих верстатів.





Резцедержатели з цилиндрическим хвостовиком Ø40 для токарных верстатів з ЧПУ

Резцедержатели з цилиндрическим хвостовиком для токарных верстатів з ЧПУ

Резцедержатели з цилиндрическим хвостовиком Ø40 для токарных верстатів з ЧПУ


Резцедержатели з цилиндрическим хвостовиком Ø40 для токарных верстатів з ЧПУ

Резцедержатели з цилиндрическим хвостовиком для токарных верстатів з ЧПУ

Резцедержатели з цилиндрическим хвостовиком Ø40 для токарных верстатів з ЧПУ

Резцедержатели (різцетримка, инструментальный блок) изготавливаются на ОАО «Барановичский завод станкоприладдя» по ТУ РБ 00222918.055-2001 і предназначены для закрепления призматических резцов сечением 25х25 мм і 20х20 - для резцедержателей з хвостовиком Ø40 мм, а так же для закрепления инструмента з цилиндрическими і коническими хвостовиками. По заказу потребителей комплектуются переходными втулками з цилиндрическими или коническими отверстиями. Хвостовик резцедержателя соответствует ГОСТ 24900 і DIN 69880.

291.341.121 резцедержатель з перпендикулярным пазом

291.341.221 резцедержатель з параллельным пазом

291.342.132 резцедержатель для осьового инструмента

291.342.222 резцедержатель для осьового инструмента со смещенной осью






УГ9321 головка револьверна автоматическая шестипозиционная. Відеоролик.




Технічні характеристики головки УГ9321

Наименование параметра УГ9321 УГ9326 УГ9321-6 УГ8
Основні параметри
Количество позиций 6 8 8 8
Расстояние от базовой поверхности до оси головки, мм 121 121 121 121
Диаметр отверстия в инструментальном диске под резцедержатели по ГОСТ 24900, мм 50H7 40H7 40H7 40H7
Максимальный допустимый крутящий (опрокидывающий) момент от зусилля різання, кНм 2,6 2,8 2,8 2,8
Стабильность индексации головки в радиальном направлении, мкм, не более: 5 5 5 3
Стабильность индексации головки в осевом направлении, мкм, не более: 10 10 10 6
Максимальная масса режущих і вспомогательных инструментов, кг 45 45
Направление обертання Одностор. Одностор. Одностор. Реверс.
Время смены инструмента min/ max, сек
Посадочная поверхность инструментального диска: диаметр, мм Конус 7°7`30" Конус 7°7`30" Конус 7°7`30" Ø50h6
Електроустаткування, привід головки
Напряжение питающей сети, В ~380 50Гц ~380 50Гц ~380 50Гц ~380 50Гц
Напряжение ланцюги керування, В 24 24 24 24
Електродвигун привода, кВт 0,37 0,37 0,37 0,37
Тип датчика ПКГ-6 ПКГ-8 Фото Фото
Выходной сигнал Контакт геркона Контакт геркона кодовый 1-2-4-8 24В кодовый 1-2-4-8 24В
Габарити і масса автоматичною головки
Габаритные розміри основания головки, мм 690 х 400 х 450 520 х 335 х 335 610 х 400 х 450 540 х 430 х 550
Масса автоматичною головки, кг 142 130 140 185

    Список литературы:

  1. Головки автоматические многопозиционные моделей УГ 9321, УГ 9324, УГ 9325. Руководство по експлуатации УГ 9321.000000.000 РЭ, 1984

  2. Локтева С.Е. Верстати з программным керуванням і промышленные роботы, 1986
  3. Тепинкичиев В.К. Металлорежущие верстати, 1973
  4. Чернов Н.Н. Металлорежущие верстати, 1988








Заказать

Чтобы обрести знание, каждый день что-нибудь добавляй; чтобы обрести мудрость, каждый день от чего-нибудь избавляйся.

Японская мудрость