metalinstryment.com
Довідник по металорізальних верстатах та пресовому обладнанні

На головну сторінку 🏠

163 Електроустаткування верстата
Електросхема верстата

163 Електроустаткування верстата







Відомості про виробника токарно-гвинторізного верстата 163

Виробник токарного верстата моделі 163 - Рязанський верстатобудівний завод РСЗ , заснований у 1949 році.

Інший виробник токарно-гвинторізного верстата 163 - Тбіліський верстатобудівний завод ім. Кірова .





Верстати, що випускаються Рязанським верстатобудівним заводом РСЗ


163 Верстат токарно-гвинторізний універсальний. Призначення та сфера застосування

Токарно-гвинторізний верстат моделі 163 один із найпоширеніших на території колишнього СРСР (вироблявся 12 років з 1956 по 1968 р).

Токарний верстат 163 призначений для обробки деталей середніх та великих розмірів, в умовах одиничного та дрібносерійного виробництва. На верстаті можна проводити зовнішнє і внутрішнє точення, включаючи точення конусів, розточування, свердління та нарізування різьблення: метричної з кроком від 1 до 192 мм, модульної, модульної з кроком від 0,5π до 48π мм, дюймової з числом ниток на 1" від 24 до 1/4, і питной від 96 до 7/8 діаметральних питчей.

Максимальні розміри заготовки, що обробляється на верстаті – Ø630 х 1400 (2800) мм.





Габарити робочого простору токарно-гвинторізного верстата 163

Верстат токарно-гвинторізний 163. Супорт

Габарити робочого простору токарного верстата 163


Загальний вигляд універсального токарно-гвинторізного верстата моделі 163

Фото токарно-гвинторізного верстата 163

Фото токарно-гвинторізного верстата 163

Фото токарно-гвинторізного верстата 163. Дивитись у збільшеному масштабі



Фото токарно-гвинторізного верстата 163

Фото токарно-гвинторізного верстата 163

Фото токарно-гвинторізного верстата 163. Дивитись у збільшеному масштабі



Загальний вигляд універсального токарно-гвинторізного верстата моделі 163

Фото токарного верстата 163


Розташування основних вузлів та органів керування токарним верстатом 163

Розташування органів керування токарним верстатом 163

Розташування органів керування токарним верстатом 163

Розташування органів керування токарним верстатом 163. Дивитись у збільшеному масштабі



Специфікація основних вузлів верстата моделі 163

  1. Станина - 16301Б001
  2. Коробка швидкостей (передня бабка) – 16302001Г
  3. Задня бабка - 16303001А
  4. Підставка - 16304001A
  5. Фартух - 16306001Г
  6. Коробка подач - 16307001А
  7. Шестірні, що змінюються - 16308001А
  8. Люнет нерухомий - 16310001
  9. Люнет рухливий - 16311002А
  10. Охолодження - 16334001А
  11. Електроустаткування - 16380001

Перелік органів керування верстатом 163

  1. Штурвал керування коробкою швидкостей (налаштування чисел обертів шпинделя)
  2. Рукоятка для налаштування різьблення на нормальний або збільшений крок і для поділу при нарізанні багатьох різьблень
  3. Рукоятка керування реверсивним механізмом для нарізування правих та лівих різьблень
  4. Рукоятка керування переборами (налаштування чисел оборотів шпинделя)
  5. Рукоятка повороту, фіксації та закріплення різцетримача
  6. Рукоятка для включення механічного переміщення верхніх санчат супорта
  7. Рукоятка ручного переміщення верхніх санчат супорта
  8. Рукоятки керування шпинделями люнета
  9. Рукоятка закріплення та звільнення пінолі задньої бабки
  10. Маховичок ручного переміщення пінолі задньої бабки
  11. Вмикач напруги
  12. Перемикач для точення конусів або циліндрів
  13. Рукоятки включення, вимкнення та реверсування обертання шпинделя
  14. Рукоятка включення, вимикання та реверсування поздовжніх та поперечних переміщень супорта
  15. Кнопка увімкнення швидких переміщень супорта
  16. Рукоятка включення та вимикання маткової гайки
  17. Кнопкові станції пуску та зупинки головного електродвигуна
  18. Рукоятка ручного поперечного переміщення супорта
  19. Кнопка для включення механічного подавання поздовжніх або поперечних санчат супорта
  20. Маховичок для ручного поздовжнього переміщення супорта
  21. Кнопка увімкнення та вимкнення рейкової шестерні
  22. Рукоятки включення, вимкнення та реверсування обертання шпинделя
  23. Кнопкові станції пуску та зупинки головного електродвигуна
  24. Рукоятка увімкнення ходового ггвинта або ходового валу
  25. Рукоятка для налаштування необхідного кроку різьблення чи величини подачі
  26. Рукоятка для налаштування необхідного кроку різьблення чи величини подачі
  27. Рукоятка выбора типа різьби или подачі

Розташування органів керування токарним верстатом 163

Розташування органів керування токарним верстатом 163

Розташування органів керування токарним верстатом 163

Розташування органів керування токарним верстатом 163. Дивитись у збільшеному масштабі


Список органів керування токарним верстатом 163

  1. Рукоятка для установки метрических или дюймовых різьб і подач
  2. Рукоятки для налаштування чисел оборотів шпинделя
  3. Рукоятка для установки нормального или увеличенного шага різьби
  4. Рукоятки для установки правой или левой різьби
  5. Рукоятки для налаштування чисел оборотів шпинделя
  6. Вытяжная кнопка для увімкнення или виключення шестерни реечной передачи продольного переміщення суппорта
  7. Рукоятка для поворота, фиксации і закрепления резцовой головки
  8. Рукоятка для увімкнення или виключення автоматичного переміщення верхних салазок суппорта
  9. Кнопка на рукоятке 10 для увімкнення швидкого переміщення суппорта
  10. Рукоятка для керування швидкими і рабочими переміщеннями суппорта во всех направлениях
  11. Рукоятка для закрепления пиноли задньої бабки
  12. Маховичок для переміщення пиноли задньої бабки
  13. Рукоятка для ручного переміщення верхних (резцовых) салазок суппорта
  14. Рукоятки для увімкнення, останова і реверсирования шпинделя
  15. Рукоятки для увімкнення гайки ходового гвинта
  16. Кнопочные станції пуска і останова головного привода
  17. Переключатель електромагнітних муфт фартука для обычной роботи или конусного точения
  18. Рукоятки для ручного поперечного переміщення суппорта
  19. Вытяжная кнопка для включении или виключення механического поперечного переміщення верхних салазок суппорта
  20. Маховичок для ручного продольного переміщення суппорта
  21. Кнопочные станції пуска і останова головного привода
  22. Рукоятки для увімкнення, останова і реверсирования шпинделя
  23. Рукоятка для увімкнення ходового гвинта или ходового валика
  24. Рукоятка для установки величины подачі шага різьби
  25. Рукоятка для установки величины подачі шага різьби




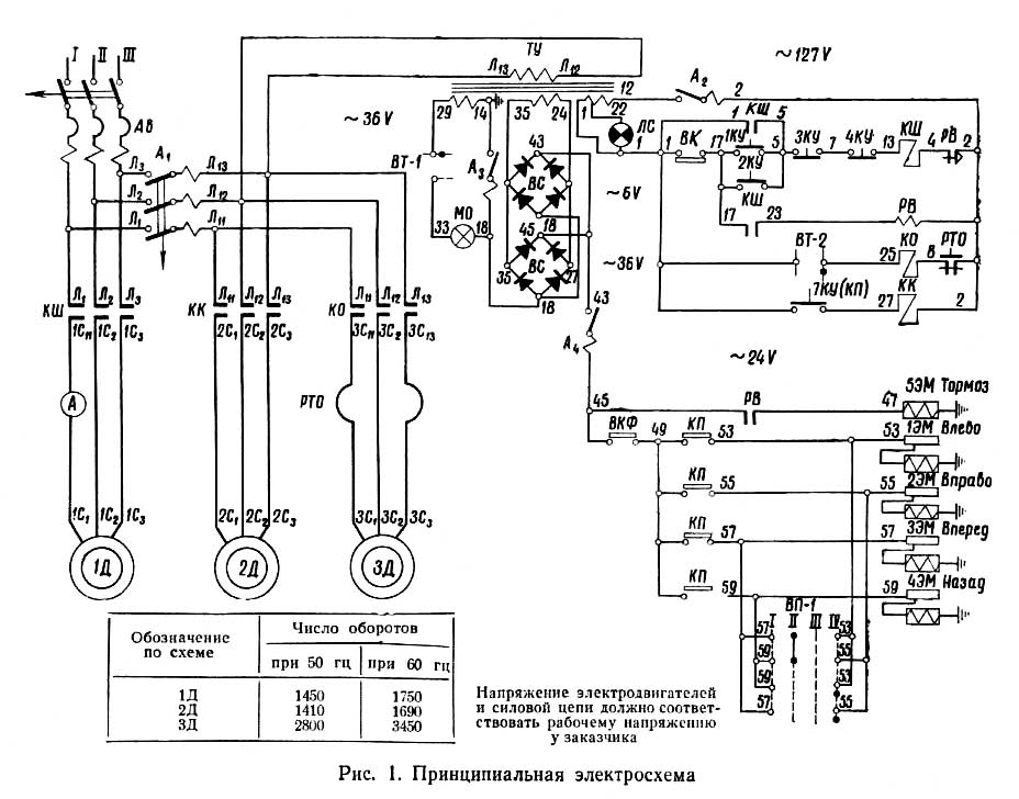
Електроустаткування токарно-гвинторізного верстата 163. 1965 год

Питание ланцюгів електроустаткування осуществляется следующими напряжениями:

Питание верстата осуществляется от сети трехфазного переменного тока напряжением 380 В, частотой 50 Гц.

На станке установлены електродвигатели:


Електросхема токарно-гвинторізного верстата 163

Схема електрична токарно-гвинторізного верстата 163

Електрична схема токарного верстата 163



Перелік елементів токарно-гвинторізного верстата 163

Список елементів токарно-гвинторізного верстата 163



Перелік елементів токарно-гвинторізного верстата 163

Список елементів токарно-гвинторізного верстата 163



Перелік елементів токарно-гвинторізного верстата 163

Список елементів токарно-гвинторізного верстата 163



На станке установлены два трехфазных короткозамкнутых асинхронных електродвигуна і електронасос охлаждения.

Електродвигун головного приводу 1Д

Для осуществления головного руху верстата служит асинхронный електродвигатель з короткозамкнутым ротором типа A2-61-4 нормального, защищенного исполнения на лапах.

Характеристика електродвигуна:

Електродвигун установлен на плите внутри левой частини станины, і соединен з приводным шкивом передньої бабки клиноременной передачей.

Електродвигун быстрых ходов 3Д

Для осуществления ускоренных перемещений каретки і суппорта служит асинхронный електродвигатель з короткозамкнутым ротором типа А0Л2-21-4 закрытого обдуваемого фланцевого исполнения.

Характеристика електродвигуна:

Електродвигун прикреплен к правой стенке фартука верстата.

Электронасос охлаждения 2Д

Для подачі охлаждающей жидкости к инструменту служит електронасос типа ПA-22, погружаемый, производительностью 22 л/мин.

Характеристика електродвигуна насоса:

Электронасос установлен внутри правой частини станины верстата.

Примечание. Электродвигатели поставляются на рабочее напряжение, требующееся заказчику.

Электропроводка

Электропроводка на станке выполнена в газовых трубах, резиновом шланге і металлорукавах, защищающих провода от механических повреждений, влаги і прочих внешних воздействий.

Увімкнення верстата 163

Перед началом роботи верстата необходимо подключить его електрическую часть к цеховой сети поворотом рукоятки в сторону "Включено" автомата АВ. При етом напряжение подается на понижающий трансформатор і выключатель местного освещения BT-I.

Подача напряжения фиксируется загоранием сигнальной лампы 1ЛС.

Керування головним приводом верстата 163

Пуск головного електродвигуна осуществляется нажатием одной из кнопок "Пуск" - 1КУ, 2КУ (расположенных на фартуке і около коробки подач), которая замыкает день живлення катушек магнитного пускателя КШ і реле часу IPB (4-13). . Катушки под влиянием проходящего по ним тока притягивают сердечники якорей і замыкают механически связанные з ними главные контакты і блок-контакты. При етом главные контакты КШ подключают електродвигатель 1Д к сети, а катушки пускателя і реле часу питаются через замкнувшийся блок-контакт КШ (1-5), что исключает дальнейшее нажатие кнопки "Пуск".

Одновременно з катушками пускателя КШ і реле часу IPB через замыкающий блок-контакт IPB (17-23) получит питание реле часу РВ. Если фрикцион не будет переведен Б рабочее положение в течений часу, на которое настроено реле РВ, то післяднее своими размыкающими контактами РВ (2-4) обесточит катушку магнитного пускателя КШ і реле часу 1РВ з післядующим остановом електродвигуна 1Д. При выключении катушки РВ замыкающим контактом (45-47) подключаются тормозная електромагнитная муфта 5ЭМ і сигнальная лампа 2ЛС. Останов головного двигуна 1Д осуществляется нажатием одной из кнопок "Стоп" - 3КУ, 4КУ, расположенных на каретке і около коробки подач.

Керування електронасосом

Керування електронасосом 2Д осуществляется посредством выключателя-тумблера ВТ-2, расположенного на боковой стенке електрошафи.

Керування приводом рабочих подач і приводом быстрых перемещении суппорта

I. В фартуке ставка расположена четыре електромагнітні фрикционные муфты, две из которых служат для перенесения супортів в продольном направлении і две - для перемещении его в поперечном направлении.

Рабочие подачі осуществляются от головного привода, быстрые ходу - от електродвигуна 3Д. Для керування приводами рабочих подач і быстрых перемещений суппорта на фартуке имеется крестовый переключатель КП на п'ять положении:

Наклоном рукоятки осуществляется увімкнення електромагнитной муфты, передающей рух суппорта в направлении, соответствующем наклону рукоятки.

Для увімкнення електродвигуна 3Д при любом положении рукоятки переключения муфт в головку рукоятка встроена пусковая толчковая кнопка 5КУ.

Для увімкнення рабочих подач в желаемом направлении следует наклонить рукоятку в етом же направлении, а для швидкого переміщення в нужном направлении - нажать на кнопку 5КУ.

2. Во избежание одновременного увімкнення маточной гайки і електромагнітних муфт фартука предусмотрен блокировочный конечный выключатель ВКФ, установленный внутри фартука, который размыкает ланцюг живлення муфт при увімкнення маточной гайке.

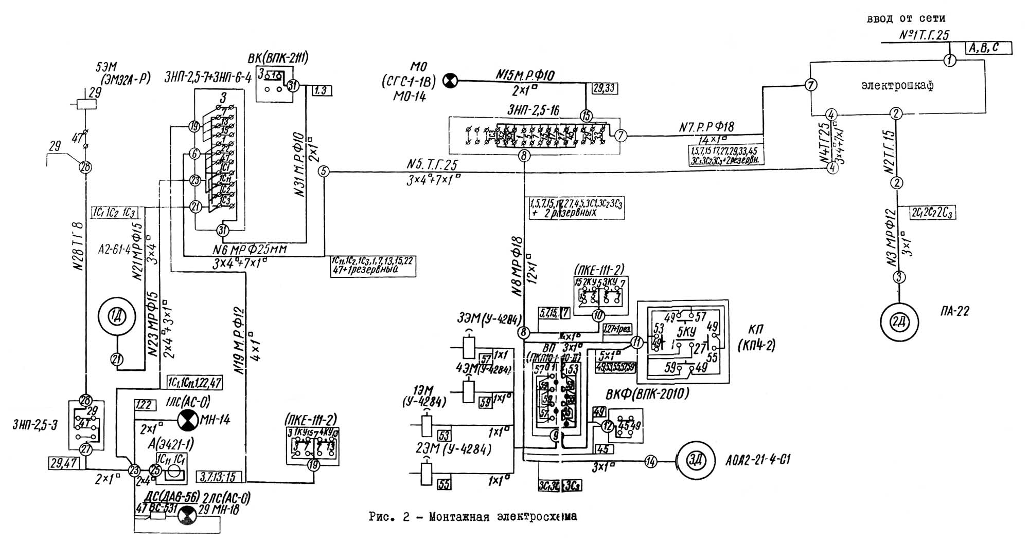
Монтажна схема токарно-гвинторізного верстата 163

Монтажная схема токарно-гвинторізного верстата 163



Монтажна схема токарно-гвинторізного верстата 163

Монтажная схема токарно-гвинторізного верстата 163



Розміщення електроустаткування на верстаті 163

Размещение електроустаткування на станке 163




163 Верстат токарно-гвинторізний універсальний. Відеоролик.



Основні технические характеристики токарного верстата 163

Наименование параметра 163 1М63 1М63Б 1М63М 1М63Н
Класс точності по ГОСТ 8-82 Н Н Н Н Н/П
Наибольший диаметр заготовки обрабатываемой над станиной, мм 630 630 630 630 630
Наибольший диаметр заготовки обрабатываемой над суппортом, мм 350 350 350 350 350
Наибольшая длина устанавливаемой детали РМЦ, мм 1400 1400 1400 1500 1500
Наибольшая масса обрабатываемого вироби, кг 2000 3500
Диаметр отверстия в шпинделе, мм 70 70 70 80 105
Мощность приводу головного руху, кВт 13 13 15 18,5 15
Частота обертання шпинделя, об/мин 10-1250 10-1250 10-1250 12-1600 10-1250
Количество прямых/ обратных швидкостей шпинделя 22/11 22/11 22/11 22/11 22/11
Количество подач продольных/ поперечных/ резцовых салазок 32/32/32 32/32/32 32/32/32 32/32/32 32/32/32
Пределы шагов метрических резьб, мм 1-192 1-192 1-224 1-224 1-224
Пределы шагов дюймовых резьб, ниток/дюйм 24-0,25 24-0,25 28-0,25 28-0,25 28-0,25
Пределы шагов модульных резьб, модуль 0,5-48 0,5-48 0,25-56 0,25-56 0,25-56
Пределы шагов питчевых резьб, питч диаметральный 96-7/8 96-7/8 112-0,5 112-0,5 112-0,5
Скорость быстрых перемещений продольных/ поперечных, м/мин 3,6/1,3 3,6/1,3 4,5/1,6 4,5/1,6 5,2/2
Масса верстата, кг 3800 4300 4400 5040

    Список литературы:

  1. Токарно-гвинторізний верстат 163. Руководство, Тбилиси, 1965
  2. Токарно-гвинторізний верстат 163. Руководство. Електроустаткування, 1965
  3. Ремонт токарно-гвинторізного верстата моделі 163 Рязанского станкостроительного завода. Часть 1, Часть 2, Часть 3, Тула, 1976
  4. Ремонт токарно-гвинторізного верстата моделі 163 Тбилисского станкостроительного завода. Часть 1, Часть 2, Часть 3, Тула, 1970

  5. Ачеркан Н.С. Металлорежущие верстати, Том 1, 1965
  6. Батов В.П. Токарные верстати, 1978
  7. Белецкий Д.Г. Справочник токаря-универсала, 1987
  8. Денежный П.М., Стискин Г.М., Тхор И.Е. Токарное дело, 1972. (1к62)
  9. Денежный П.М., Стискин Г.М., Тхор И.Е. Токарное дело, 1979. (16к20)
  10. Модзелевский А. А., Мущинкин А.А., Кедров С. С., Соболь А. М., Завгородний Ю. П., Токарные верстати, 1973
  11. Пикус М.Ю. Справочник слесаря по ремонту верстатів, 1987
  12. Схиртладзе А.Г., Новиков В.Ю. Технологическое обладнання машиностроительных производств, 1980
  13. Тепинкичиев В.К. Металлорежущие верстати, 1973
  14. Чернов Н.Н. Металлорежущие верстати, 1988








Замовити

Хто володіє інформацією – той володіє світом.

Натан Ротшильд