Виробник токарного верстата 16М30Ф3 - Рязанський верстатобудівний завод РСЗ , заснований у 1949 році.
Свій перший верстат Рязанський верстатобудівний завод випустив 21 лютого 1949 - це був токарно-гвинторізний верстат 164 серії. Протягом короткого часу заводом було запущено в виробництво ще три серії токарних верстатів - 166, 165 у 1953 році, 163 у 1956 році.
У міру вдосконалення конструкції верстатів завод випускав все більш сучасні моделі - 1М63 , 1М63Б , 1М63БФ101 , 1М63Н , 16К30 , 1А64 , 16К40 , 1М65 , 1Н65 .
На основі універсальних токарних верстатів Рязанським верстатобудівним заводом був освоєний випуск токарних верстатів з ЧПУ - 16К30Ф3 , 16М30Ф3 , 16К40РФ3, 16Р50Ф3 та ін.
Також заводом освоєно випуск сучасних токарних обробних центрів з числом координат від 4 до 8, токарних верстатів з ЧПУ похилої 1П756ДФ3 і горизонтальної компоновок, трубообробних верстатів 1А983 , 1Н983 - для обробки кінців труб діаметром до 460 мм, колесотокарних, колесотокарних та ін.
Токарний верстат з ЧПУ 16М30Ф3 призначений для токарної обробки поверхонь деталей типу тіл обертання зі ступінчастиним та простим криволінійним профілями та для нарізування різьблення; застосовується в умовах одиничного та дрібносерійного виробництва у цехах машинобудівних заводів та інших галузях промисловості.
Верстат 16М30Ф3 оснащений системою програмного керування «Електроніка НЦ-31».
З верстатом 16М30Ф3 поставляються транспортер для збирання стружки та пневмопатрон.
Шорсткість оброблених на верстаті поверхонь:
Клас точності верстата П згідно з ГОСТ 8-77.
Верстат 16М30Ф3 призначений для внутрішніх та експортних поставок.
Основні конструктивні особливості верстата: широкий діапазон регулювання швидкостей шпинделя та подач, жорсткість основних вузлів верстата; переміщення пінолі задньої бабки та затиску патрона механізоване; на чотирипозиційний різцетримач можна встановлювати вісім інструментальних блоків; застосування накладних сталевих загартованих направляючих у поєднанні з опорами кочення гарантує тривале збереження точності верстата; перемикання 12 ступенів частоти обертання автоматичного шпинделя; застосовані швидкохідні приводи подач із зворотним зв'язком; підвищено норми точності верстата; механізовано видалення стружки за допомогою транспортера; коригування та редагування програм здійснюються безпосередньо на верстаті.
Розробник - Рязанське спеціальне конструкторське бюро верстатобудування (РСКБС).
У 1934 році на Московському верстатобудівному заводі "Червоний пролетар" освоюється випуск важких універсальних токарно-гвинторізних верстатів ДІП-300 , ДІП-400 , ДІП-500 . Як прототип був обраний токарно-гвинторізний верстат німецької фірми VDF.
У 1944 році виробництво цих верстатів було передано на Рязанський верстатобудівний завод РСЗ .
У 1956 році запущена у виробництво перша модель 163-ї серії – 163 – РМЦ 1400, 2800.
У 1968 році запущено у виробництво наступне покоління серії-модель 1м63 , 1м63Б .
З 1973 року початок серійного випуску токарних верстатів: 16К30 , 16К30Ф3 , 1М63Бф101 , 16М30Ф3 , 1П756ДФ3 .
Верстати 163 серії вироблялися, також, у Тбілісі - 1Д63А , 1М63Д , 1М63ДФ101 .
У 1992 році початок серійного випуску останньої моделі 163 серії 1М63Н .
Наприклад: 16К30Ф3, 16М30Ф3, 16Р30Ф3, 16М40.

Габарит робочого простору токарного верстата з ЧПУ 16М30Ф3141
Габарит робочого простору токарного верстата з ЧПУ 16М30Ф3. Дивитись у збільшеному масштабі

Габарит робочого простору токарного верстата з ЧПУ 16М30Ф3-33

Габарит робочого простору токарного верстата з ЧПУ 16М30Ф171, 16М30Ф3141

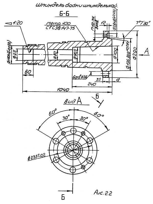
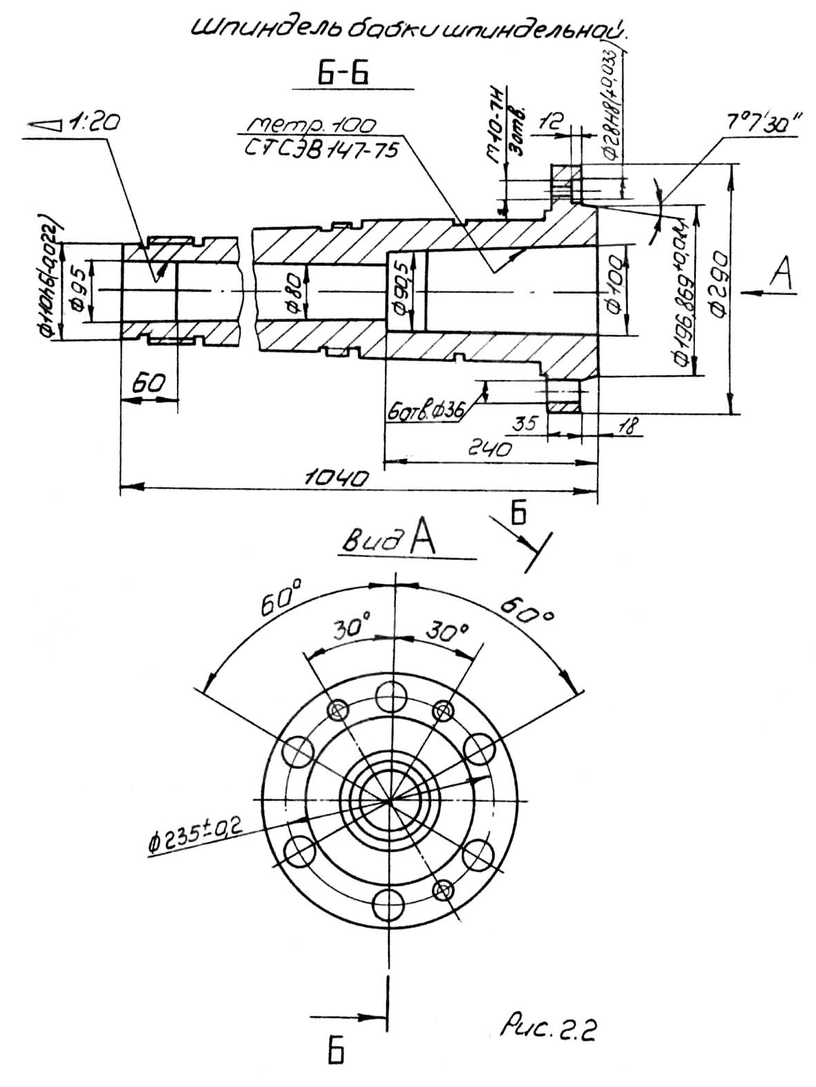
Креслення шпинделя токарного верстата з ЧПУ 16М30Ф3
Креслення шпинделя токарного верстата з ЧПУ 16М30Ф3. Дивитись у збільшеному масштабі

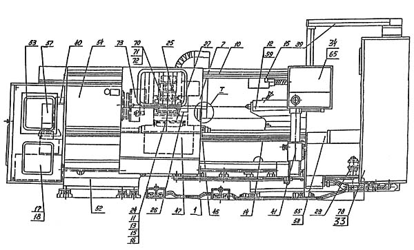
Фото токарного верстата з ЧПУ 16М30Ф3

Фото токарного верстата з ЧПУ 16М30Ф3
Фото токарного верстата з ЧПУ 16М30Ф3. Дивитись у збільшеному масштабі

Фото токарного верстата з ЧПУ 16М30Ф3

Фото токарного верстата з ЧПУ 16М30Ф3
Фото токарного верстата з ЧПУ 16М30Ф3. Дивитись у збільшеному масштабі

Фото токарного верстата з ЧПУ 16М30Ф3
Фото токарного верстата з ЧПУ 16М30Ф3. Дивитись у збільшеному масштабі

Фото токарного верстата з ЧПУ 16М30Ф3
Фото токарного верстата з ЧПУ 16М30Ф3. Дивитись у збільшеному масштабі

Фото токарного верстата з ЧПУ 16М30Ф3
Фото токарного верстата з ЧПУ 16М30Ф3. Дивитись у збільшеному масштабі

Фото токарного верстата з ЧПУ 16М30Ф3
Фото токарного верстата з ЧПУ 16М30Ф3. Дивитись у збільшеному масштабі

Фото токарного верстата з ЧПУ 16М30Ф3
Фото токарного верстата з ЧПУ 16М30Ф3. Дивитись у збільшеному масштабі

Розташування складових частин токарного верстата з ЧПУ 16М30Ф3141
Розташування складових частин токарного верстата з ЧПУ 16М30Ф3. Дивитись у збільшеному масштабі
Кожуха защитные - 16М30Ф3.12.000
Станція представляет групповой електропривід для металлорежущих машин з приводом головного руху 30 kW і двумя приводами подач з длительными крутящими моментами 23 Nm
1. Металлический шкаф содержит:
2. Двигатели постоянного тока

Розташування органів керування токарним верстатом з ЧПУ 16М30Ф3-33
Розташування органів керування токарним верстатом з ЧПУ 16М30Ф3. Дивитись у збільшеному масштабі

Пульт керування токарним верстатом з ЧПУ 16М30Ф3-33
Пульт керування токарним верстатом з ЧПУ 16М30Ф3. Дивитись у збільшеному масштабі

Пульт керування токарним верстатом з ЧПУ 16М30Ф3-33
Пульт керування токарним верстатом з ЧПУ 16М30Ф3. Дивитись у збільшеному масштабі

Кінематична схема верстата 16М30Ф3
Кінематична схема верстата 16М30Ф3. Дивитись у збільшеному масштабі
Схема кінематична принципова токарного верстата з ЧПУ 16М30Ф3 приведена для понимания связей і взаимодействия основних елементів верстата.
От електродвигуна, помещенного на кронштейне, закрепленном на задньої стенке станины, вращение передається клиновыми ремнями на приводной вал бабки шпиндельной, которая обеспечивает получение двух диапазонов частот обертання шпинделя, переключаемых по программе. Регулювання в пределах диапазона осуществляется за счет двигуна постоянного тока по программе.
Шпиндель получает любую частоту обертання в пределах 8...2000 об/мин, (частота обертання задается только целым числом).
Станина цельнолитая на тумбе Направляющие станины под каретку выполнены: передняя - призматическая, задня - плоская. Направляющие под заднюю бабку выполнены: передняя - плоская, задня - призматическая.
Направляющие под каретку закалены. Внутри станины имеются наклонные люки (окна) для відведення стружки і охлаждающей жидкости.
На левой тумбе сзади крепится електродвигатель головного привода.
Бабка шпиндельна установлена на левой (головной) частини станины: Передней опорой шпинделя является двухрядный роликоподшипник, работающий в паре з упорно радиальным шарикоподшипником. Задней опорой является двухрядный роликоподшипник.
Изменение частоти обертання шпинделя в пределах диапазона достигается изменением частоти обертання головного приводу (електродвигуна постоянного тока). Переключення з одного диапазона на другой осуществляется гідроцилиндрами за счет переміщення блока зубчатых колес.
Бабка задня перемещается по направляющим станины на четырех радиальных шарикопідшипниках, установленных в мостике. На направляючих станины задня бабка закрепляется при помощи двух планок четырьмя болтами. Поперечное смещение корпуса бабки относительно мостика производится з помощью двух винтов і гайки, установленной в мостике.
Перемещение пиноли осуществляется вручную і гідравлически.
Керування гідроцилиндром производится посредством двух педалей.

Поворотный резцедержатель верстата 16М30Ф3

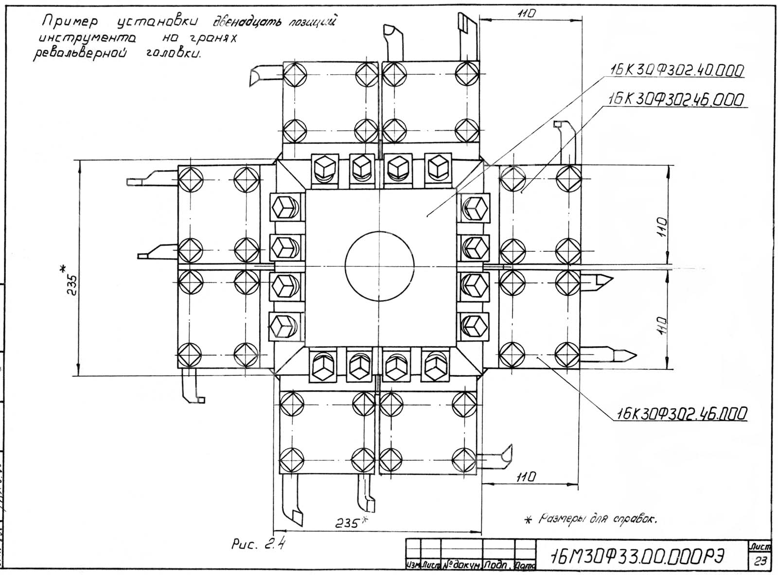
Пример установки инструмента на станке з ЧПУ 16М30Ф3
Пример установки инструмента на станке з ЧПУ 16М30Ф3. Дивитись у збільшеному масштабі

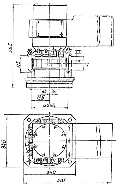
Бабка шпинделя токарного верстата з ЧПУ 16М30Ф3
Бабка шпинделя токарного верстата з ЧПУ 16М30Ф3. Дивитись у збільшеному масштабі

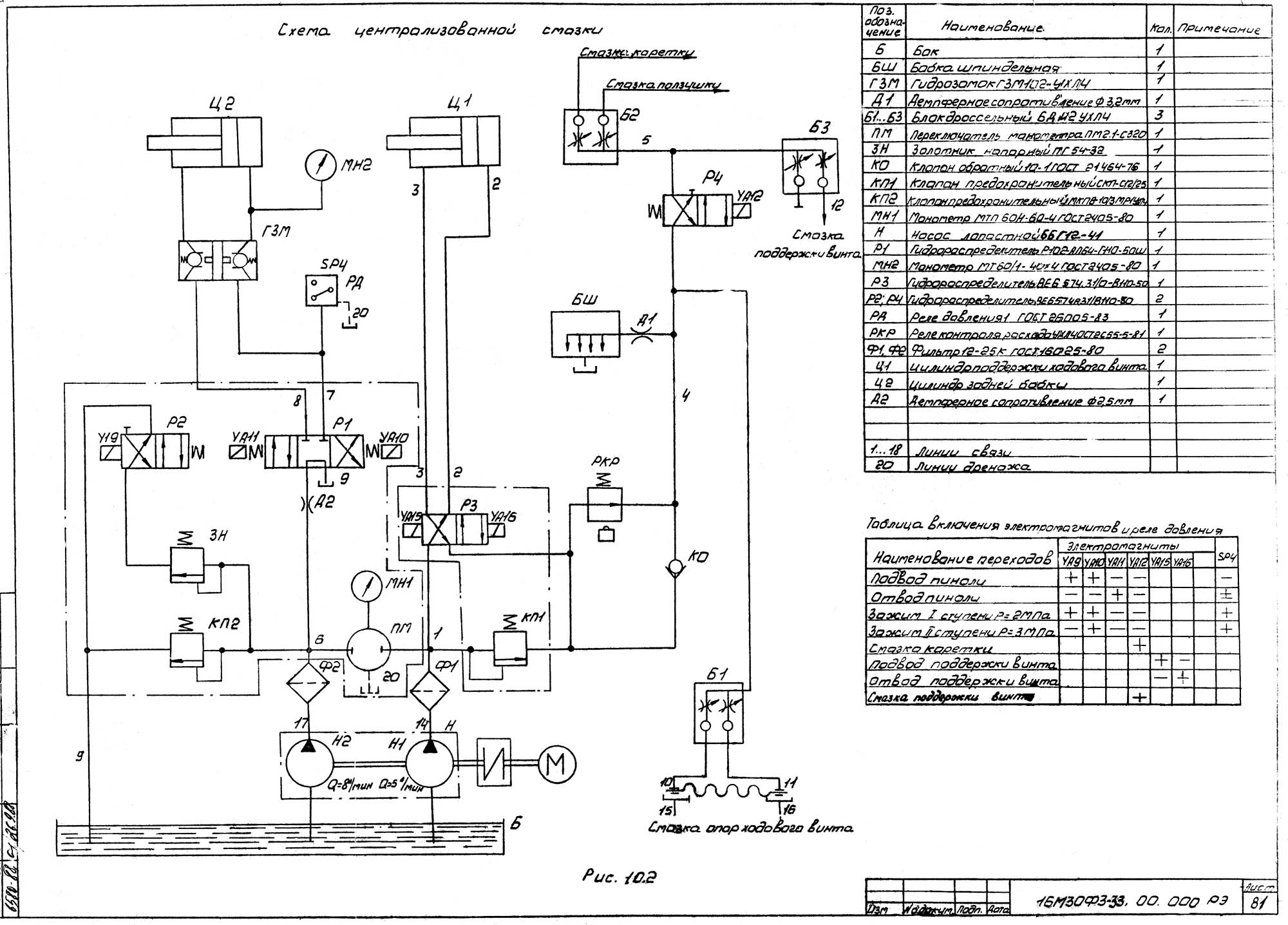
Схема централизованной змазки токарного верстата з ЧПУ 16М30Ф3
Схема централизованной змазки токарного верстата з ЧПУ 16М30Ф3. Дивитись у збільшеному масштабі
| Наименование параметра | 16К30ФС353 | 16М30Ф3-141 |
|---|---|---|
| Основні параметри верстата | ||
| Класс точності верстата П по ГОСТ 8—82 | П | П |
| Наибольший диаметр обрабатываемого вироби над станиной, мм | 630 | 670 |
| Наибольший диаметр обрабатываемого вироби над суппортом, мм | 320 | 320 |
| Наибольшая длина обрабатываемого вироби, мм | 1400 | 1500, 3000 |
| Наибольшая масса обрабатываемого вироби, мм | 850 | |
| Шпиндель | ||
| Диаметр отверстия в шпинделе, мм | 71 | |
| Наибольший диаметр прутка проходящего через отверстие в шпинделе, мм | 70 | 80 |
| Количество швидкостей шпинделя (обшее/ по программе) | 24/ 12 | Б/с |
| Пределы оборотів шпинделя, об/мин | 6,3..1600 | 8..2000 |
| Кінець шпинделя по ГОСТ 12593-72 | 11М | 11М |
| Наибольший крутящий момент на шпинделе, кНм | 3,40 | 2,29 |
| Суппорт | ||
| Наибольшее перемещение суппорта: продольное/ поперечное (рмц=1500, 3000), мм | 1200/ 300 | 1260, 2700/ 330 |
| Высота резца, устанавливаемого в резцедержателе, мм | 32 | 32 |
| Количество инструментов, устанавливаемых в резцедержатель, мм | 4, 8 | 5..9 |
| Время смены инструмента, с | 4 | |
| Максимальная скорость поздовжньої подачі при нарезании різьби, мм/мин | 2400 | |
| Наибольшая величина подачі в режиме автоматичного керування, мм/мин | 2400 | |
| Розміри нарезаемых метрических резьб, мм | 0,01...20,47 | |
| Диапазон швидкостей подач (продольных і поперечных), мм/мин | 0,01..20,47 | 1..4000 |
| Скорость быстрых ходов (продольных/ поперечных), мм/мин | 6000/ 5000 | 10000/ 10000 |
| Дискретность задания переміщення (продольного/ поперечного, мм | 0,05/ 0,01 | 0,001/ 0,001 |
| Точность переміщення (продольного/ поперечного, мм | 0,098/ 0,032 | |
| Наибольшая скорость в режиме ручного керування, мм/об | 1,5 | |
| Наибольшее усилие подачі (продольное/ поперечное), кН | 15/ 5 | 20/ 20 |
| Задня бабка | ||
| Центр шпинделя задньої бабки по ГОСТ 13214-67 | Морзе 6 | |
| Наибольшее перемещение пиноли, мм | 240 | |
| Наибольшее перемещение пиноли от гідроцилиндра, мм | 100 | |
| Параметри систем ЧПУ | ||
| Обозначение системы ЧПУ | НЦ-31 | НЦ-31 |
| Количество управляемых координат (всего/ одновременно | 2/ 2 | 2/ 2 |
| Тип датчика нулевого положения | ||
| Тип датчика обратной связи | Фотоимпульсные | |
| Електроустаткування і приводы верстата | ||
| Электросеть | 380/220 В,50 Гц | |
| Количество електродвигателей на станке | 6 | 9 |
| Електродвигун головного привода, кВт | 22 | 30 |
| Електродвигун приводов подач, кВт | 2,8 | 30 Нм |
| Електродвигун резцедержки, кВт | 0,5 | 0,5 |
| Електродвигун станції змазки, кВт | 0,12 | 1,5 |
| Електродвигун насоса охлаждения, кВт | 1,5 | 0,125 |
| Суммарная мощность електродвигателей, кВт | 50 | |
| Суммарная мощность верстата, кВт | ||
| Габарити і масса верстата | ||
| Габарити верстата (длина х ширина х высота), мм | 5290 х 3470 х 2105 | 5290 х 3875 х 2130 |
| Масса верстата з ЧПУ, кг | 7800 | 8000 |