У 1930 році на Московському верстатобудівному заводі "Червоний пролетар" було прийнято рішення про розробку нового верстата токарного, стандартного, скорочено ТЗ. Дещо пізніше його перейменували на ДІП-200 – Догонім І Перегонім , за головним гаслом першої п'ятирічки, де 200 – висота центрів над станиною. Як прототип був обраний токарно-гвинторізний верстат німецької фірми VDF . У квітні 1932 року розпочалася підготовка випуску першої партії верстатів ДІП-200.
25 квітня 1932 року було зібрано та випробувано перший радянський універсальний токарно-гвинторізний верстат з коробкою швидкостей - ДІП-200. До кінця 1932 року було випущено 25 ДІПів.
У 1934 році освоюється випуск верстатів ДІП-300 (1д63) , ДІП-400 (1д64) , ДІП-500 (1д65) .
Універсальний токарно-гвинторізний верстат моделі ДІП-300 (за класифікацією ЕНІМС 1д63 ) - перший радянський верстат з коробкою швидкостей та діаметром обробки над станиною 615 мм, як і всі інші ДІПи (ДІП - 200 , ДІП-300 , ДІП-400 , 500 ), розроблений та вироблявся на Московському верстатобудівному заводі Червоний Пролетар з 1930 по 1950-і роки.
Токарно-гвинторізний верстат ДІП-300 призначений для виконання найрізноманітніших робіт у центрах, цангових або кулачкових патронах по чорних та кольорових металах, включаючи точення конусів, а також для нарізування метричних, модульних, дюймових різьблень.
Токарний верстат ДІП-300 (1д63а) здатний обробляти відносно великі заготовки діаметром до 615 мм і довжиною 1500 або 3000 мм.
Передній кінець шпинделя різьбовий М120 х 6, внутрішній конус Морзе 5, отвір у шпинделі 70 мм, діаметр прутка, що обробляється 68 мм.
Шпиндель верстата ДІП-300 (1д63а) встановлений на дворядні роликові підшипники спереду та в конічному роликовому підшипнику ззаду. Осьове навантаження на шпиндель сприймається кульковим упорним підшипником.
Шпиндель отримує 18 ступенів частот прямого та зворотного обертання від шестивалової коробки швидкостей у передній бабці верстата. Установка потрібної швидкості здійснюється трьома ручками на передній стінці передньої бабки.
Пуск, зупинка та включення прискореного зворотного ходу здійснюється фрикційною пластинчастою муфтою . Муфта керується рукоятками на станині у передньої бабки та на фартуху.
На вхідний вал коробки сміття рух надходить через ремінну передачу від асинхронного електродвигуна потужністю 10 кВт.
Коробка подач отримує рух від коробки швидкостей через гітару – змінні шестерні із нахилом. У передню бабку включені механізми, що дають можливість змінити напрямок руху супорта та прискорити цей рух (збільшити крок різьблення) у 4 та в 16 разів.
Для виготовлення різьблення підвищеної точності ходовий гвинт може бути підключений через змінні шестерні гітари, крім механізму коробки подач.
По ходовому валику супорт отримує подачі: поздовжні від 0,10 до 1,6 мм і поперечні від 0,04 до 0,59 мм за один оберт шпинделя.
Фартух супорта токарного верстата ДІП-300 (1д63а) забезпечений механізмом падаючого черв'яка , який дає можливість автоматичного включення подачі від ходового ггвинта при нарізанні різьблення в обох напрямках і одночасно оберігає верстат від поломок у разі перевантаження. Вимкнення здійснюється з точністю 0,02 мм від упору на станині.
У 1930 році на Московському верстатобудівному заводі "Червоний пролетар" було прийнято рішення про розробку нового верстата токарного, стандартного, скорочено ТЗ. Дещо пізніше його перейменували на ДІП-200 – Догонім І Перегонім , за головним гаслом першої п'ятирічки, де 200 – висота центрів над станиною. Як прототип був обраний токарно-гвинторізний верстат німецької фірми VDF . У квітні 1932 року розпочалася підготовка випуску першої партії верстатів ДІП-200.
25 квітня 1932 року було зібрано та випробувано перший радянський універсальний токарно-гвинторізний верстат з коробкою швидкостей - ДІП-200. До кінця 1932 року було випущено 25 ДІПів.
У 1934 році на Московському верстатобудівному заводі "Червоний пролетар" освоюється випуск важких універсальних токарно-гвинторізних верстатів верстатів ДІП-300 (1д63) , ДІП-400 (1д64) , ДІП-500 (1д65) .
У 1944 році виробництво цих верстатів було передано на Рязанський верстатобудівний завод РСЗ , заснований у 1944 році, Тбіліський верстатобудівний завод ім. Кірова та Єйський верстатобудівний завод .
У 1956 р. Рязанський верстатобудівний завод випустив першу промислову партію верстатів серії ДІП-300 - модель 163 - РМЦ 1400, 2800.
У 1968 році запущено у виробництво наступне покоління серії-модель 1м63 , 1м63Б .
З 1973 року початок серійного випуску токарних верстатів: 16К30 , 16К30Ф3 , 1М63Бф101 , 16М30Ф3 , 1П756ДФ3 .
Тбіліський верстатобудівний завод ім. Кірова випускав верстати: 1Д63А , 1М63Д, 1М63ДФ101.
У 1992 році початок серійного випуску верстата 1М63Н – останньої моделі серії ДІП-300.

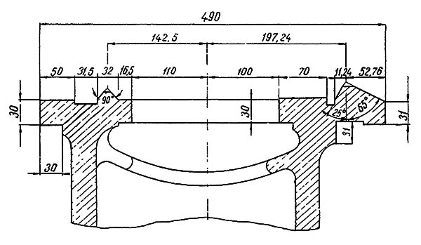
Габарити робочого простору верстата ДІП-300 (1д63а)

Ескіз кінця шпинделя верстата ДІП-300 (1д63а)

Станина токарно-гвинторізного верстата ДИП-300 (1д63а)
Станина токарно-гвинторізного верстата ДІП-300 (1д63а). Дивитись у збільшеному масштабі

Фото токарно-гвинторізного верстата ДИП-300 (1д63а)

Фото передньої бабки токарно-гвинторізного верстата ДІП-300 (1д63а)

Фото передньої бабки токарно-гвинторізного верстата ДІП-300 (1д63а)

Фото передньої бабки токарно-гвинторізного верстата ДІП-300 (1д63а)

Розташування органів керування токарно-гвинторізним верстатом ДІП-300 (1д63а)

Кінематична схема токарно-гвинторізного верстата ДИП-300 (1д63а)
Схема кінематична токарно-гвинторізного верстата ДІП-300 (1д63а). Дивитись у збільшеному масштабі

Схема розташування підшипників токарно-гвинторізного верстата ДІП-300 (1д63а)
В зависимости от положения работающего пуск, остановка і перемена направления обертання шпинделя про изводится рукояткой 11 у передньої бабки или рукояткой 17 у фартука. Эти рукоятки управляют двухсторонней фрикционной пластинчатой муфтой і тормозом, находящимися внутри коробки швидкостей. Тормоз действует автоматически в среднем выключенном положении муфты, обеспечивая быструю остановку механізма коробки швидкостей і шпинделя. При перестановке указанных рукояток в одно из крайних положений нужно, не торопясь, переводить их до среднего положения, а затем енергично ставить в нужное крайнее положение.
Рукоятки 1, 2 і 5 для изменения скорости обертання шпинделя нужно переставлять только на тихом ходу или при остановленном станке.
Подачи і різьби устанавливаются рукоятками 6(А), 7(В), 9(С) і переключателем конуса Нортон 8 согласно таблицы, находящейся на крышке коробки по дач. Увімкнення ходового гвинта или ходового валика производится рукояткой 10(Д). Для непосредственной передачи обертання от гітари на ходовой винт, коробку подач выключают рукояткой 6(А), а рукоятку 7(В) ставят в среднее положение. Это бывает необходимо при нарезании різьб підвищеної точності или со специальным шагом з помощью особого на бора сменных шестерен гітари. Переставлять рукоятки коробки подач можно только на тихом ходу.
Увімкнення і вимкнення механізмов подачі суппорта производится рукояткой 14 падающего червяка, находящегося внутри фартука. Ручная подача суппорта осуществляется при помощи рукояток 18 і 20.
Автоматическое вимкнення поздовжньої і поперечної подачі суппорта осуществляется при помощи механізма падающего червяка в момент перегрузки под действием большого зусилля різання, или других сопротивлений (упор на станине) вдоль направления подачі. Этим механізмом верстат предохраняется от поломки і создается возможность получения точных размеров вироби при работе по упору. Для етой цели предусмотрена передача обертання червяку і червячному колесу от валика червяка через сидящую на валике муфту, сцепляющуюся своими винтовыми выступами на горце з такими же выступами червяка под действием нажатия пружины. При увеличении сопротивления в системе передач суппорта і фартука, доходящего до величины, на которое не рассчитано отрегулированное нажатие пружины на муфту, валик червяка, продолжая вращаться, заставит муфту посредством винтовых выступов червяка отжиматься от него і сжимать пружину.
При етом движении муфты по валику она поворачивает рычаг з рукояткой 14, поддерживающий червяк в поднятом положении і зацепленным червячной шестерней; червяк па дает і выходит из зацепления з шестерней. Для увімкнення подачі червяк вводится в зацепление з шестерней поднятием его з помощью рукоятки 14.
При закреплении резцедержательной головки суппорта рукояткой 19 необходимо следить, чтобы фиксирующий штифт входил в отверстие на нижней плоскости головки. Этот штифт вынимать не следует, так как при помощи его достигается правильная установка головки. Для закрепления суппорта на станине при поперечної обточке или обточке верхней частини суппорта необходимо затянуть прижимную планку направляючих станины болтом з выступающей квадратной головкой на перед ней частини каретки з правой стороны.
Поперечное перемещение корпуса задньої бабки по мостику, необходимое при точении конусных изделий, осуществляется при помощи 2-х винтов 1 з передньої і задньої стороны в нижней частини корпуса. После ослабления гвинта 2, прижимающего поперечную переднюю направляющую плоскость паза корпуса к выступу мостика, ослабляется винт з той стороны, куда нужно переместить бабку, і затягивается противоположный винт 1. Винт 2 після окончания установки снова затягивается. Установка центра бабки точно по центру шпинделя производится путем совмещения рисок на платиках «К», расположенных з задньої стороны мостика і корпуса бабки. По отношению к мостику смещение бабки воз можно на 10 — 15 мм. Для переміщення пиноли задньої бабки необходимо предварительно рукояткой 21 (см. схему керування) освобождать прижим, которым пиноль закрепляется при работе в центрах.
Упор, перестанавливаемый і закрепляемый на станине, предусмотрен для обточки вироби на определенную длину при продольном точении путем автоматичного виключення подачі при соприкосновении з упором каретки. Упор устанавливается на направляючих станины в начале на - глаз і укрепляется винтом прихвата, а затем винтом регулировки производится точная установка.

Регулювання підшибників шпинделя верстата ДИП-300 (1д63а)

Регулювання підшибників шпинделя верстата ДИП-300 (1д63а)
Передня конусная шейка шпинделя вращается в специальном регулируемом двухрядном роликовом подшипнике з цилиндрическими роликами. Для выборки люфта передний подшипник шпинделя регулируется изнутри передньої бабки путем подтяжки внутреннего кольца підшипника 1 з помощью гайки 2.
Регулювання заднего конического підшипника 3 вместе з упорным шарикоподшипником 4 производится з наружной стороны передньої бабки гайками 5. После регулювання підшибників следует проверить шпиндель на радиальный отжим. Для етого в коническое отверстие шпинделя вставляется оправка з коническим хвостом (конус 80 метрический) і дли ной цилиндрической частини 50 — 55 мм не менее 300 мм.
К центрирующей шейке шпинделя подводится наконечник индикатора і за цилиндрический конец оправки вручную производится отжатие шпинделя. При етом отклонение стрелки индикатора не должно превышать 0,015 мм. Кроме етого шпиндель должен легко провертываться вручную, если муфту фрікциону поставить во включенное положение.
Передний подшипник шпинделя № 3182128 имеет основні розміри 140 х 210 х 53.
Смазка підшибників шпинделя обеспечивается поступлением масла при разбрызгивании в имеющиеся углубления в верхней частини коробки швидкостей.
В случае буксования фрикционной муфты на рабочем ходу, она должна быть немедленно отрегулирована, т. к. от трения дисков сильно будет нагреваться і верстат не будет работать нормально. Регулювання фрикционной муфты производится нажимными гайками 1, навинченными на кольцо 2. Поворот нажимной гайки може быть произведен лишь після того, как защелка 3 вдавлена в кольцо 2. При включен ной муфте один из концов коромысла 4 дол жен находиться под горизонтальной плоскостью паза муфты переключения 5.

Регулювання поперечного переміщення задньої бабки верстата ДИП-300 (1д63а)

Усунення слабины в направляючих суппорта верстата ДИП-300 (1д63а)
При появлении люфта производится подтяжка соответствующих клиньєв 1 или 2 з помощью винтов 3 і 4, ввинченных в торцы верхней і нижней частин суппорта.

Регулювання зазору в направляющей каретки суппорта верстата ДИП-300 (1д63а)
Зазор между задньої направляющей каретки і станины регулируется подтягиванием планок 1 гвинтами 2 з фиксацией післядних контр гайками 3. После регулировки зазор должен быть не более 0,02 мм.

Усунення мертвого ходу гвинта поперечного переміщення суппорта верстата ДИП-300 (1д63а)
«Мертвый ход» гвинта поперечного ходу суппорта, возникающий при износе гайки, може быть устранен подтягиванием клина 3, вставленного между половинками гайки. Предварительно надо ослабить винт 1 і після выбора люфтов вновь его затянуть. «Мертвый ход» гвинта поперечної подачі должен быть не более двух делений лимба.

Усунення слабины в направляючих суппорта токарно-гвинторізного верстата ДИП-300 (1д63а)
Регулювання нажатия пружины 1 на муфту сцепления падающего червяка з его вали ком осуществляется затяжкой или ослаблением гайки 2, навинченной на правый конец етого валика. При уменьшении нажатия гайка должна перемещаться вдоль по валу вправо, а при увеличении нажатия - влево. Нельзя допускать при регулировке пружины полного сжатия її «виток к витку», т. к. при етом предохранительная муфта теряет свое назначение і може произойти повреждение механізмов фартука і суппорта в случае перегрузки. Рекомендуется силу нажатия пружины регулировать в соответствии з сечением снимаемой при обработке стружки.

Регулювання зазору маточной гайки ходового гвинта верстата ДИП-300 (1д63а)
При появлении люфта производится подтяжка планки 1 гвинтами 2 з фиксацией післядних контргайками 3.

Ограничение сближения маточной гайки ходового гвинта верстата ДИП-300 (1д63а)
Необходимая свобода обертання гвинта при включенной гайке без излишнего осьового зазору между витками різьби гвинта і гайки осуществляется переміщенням упорного штифта 1, находящегося в вертикально просверленном отверстии нижней половины гайки з помощью расположенного внизу гвинта 2. Винт фиксируется контргайкой 3.
Производится изменением натяжения її з помощью гаек болта, прикрепленного к концу ленты. Гайки находятся вверху на задньої наружной стороне корпуса коробки швидкостей. Регулировку нужно производить при выключенном електродвигателе, проверяя на тихом ходу силу торможения і ослабление ленты при включенном положении фрикционной муфты, как при прямом, так і при обратном ходе. При проверке електродвигатель включается.
| Наименование параметра | ДИП-300 1Д63А |
163 |
|---|---|---|
| Основні параметри | ||
| Класс точності по ГОСТ 8-82 | Н | Н |
| Наибольший диаметр заготовки над станиной, мм | 615 | 630 |
| Наибольший диаметр заготовки над суппортом, мм | 345 | 340 |
| Высота центров, мм | 300 | 315 |
| Наибольшая длина заготовки (РМЦ), мм | 1500, 3000 | 1400, 2800 |
| Наибольшая длина обточки - обробки над суппортом без перестановки резцовых салазок, мм | 1310, 2810 | 1260 |
| Наибольшие розміри резца, мм | 30 х 30 | 40 х 40 |
| Высота от опорной поверхности резца до линии центров, мм | 32,5 | 40 |
| Наибольшее расстояние от линии центров до кромки резцедержателя, мм | 325 | 320 |
| Шпидель | ||
| Диаметр сквозного отверстия в шпинделе, мм | 70 | 70 |
| Наибольший диаметр прутка, мм | 68 | 65 |
| Число ступеней частот прямого обертання шпинделя | 18 | 24 |
| Частота прямого обертання шпинделя, об/мин | 14..750 | 10..125 |
| Число ступеней частот обратного обертання шпинделя | 18 | 18 |
| Частота обратного обертання шпинделя, об/мин | 22..945 | 18..1800 |
| Размер внутреннего конуса в шпинделе, М | Морзе 5 | Морзе 5 |
| Кінець шпинделя | М120 х 6 | ГОСТ 12593 |
| Торможение шпинделя | есть | есть |
| Суппорт. Подачи | ||
| Наибольшая длина ходу каретки от руки, мм | 1510, 3010 | 1260, 2520 |
| Наибольшая длина ходу каретки по валику, мм | 1310, 2810 | 1260, 2520 |
| Наибольшая длина ходу каретки по винту, мм | 1310, 2810 | 1260, 2520 |
| Число ступеней продольных подач | 26 | 32 |
| Пределы рабочих подач продольных, мм/об | 0,15..2,65 | 0,10..1,6 |
| Число ступеней поперечных подач | 26 | 32 |
| Пределы рабочих подач поперечных, мм/об | 0,05..0,9 | 0,04..0,59 |
| Поперечное перемещение на одно деление лимба, мм | 0,05 | 1 |
| Поперечное перемещение суппорта на один оборот лимба, мм | 5 | |
| Продольное перемещение на одно деление лимба, мм | 1 | |
| Продольное перемещение суппорта на один оборот лимба, мм | 300 | |
| Скорость быстрых перемещений суппорта, продольных, м/мин | нет | 3,6 |
| Швидкість швидких переміщень супорта, поперечних, м/хв. | ні | 1,3 |
| Кількість нарізних різьблень метричних | 79 | |
| Межі кроків різьб метричних, що нарізаються, мм | 1..224 | 1..192 |
| Кількість нарізних різьблень дюймових | ||
| Межі кроків різьблення дюймових | 2..28 | 24..1/4 |
| Кількість нарізних різьблень модульних | ||
| Межі кроків різьблення модульних | 0,25 стор.. 56 стор | 0.5p..48p |
| Кількість нарізних різьблення питних | ні | 96..7/8 |
| Межі кроків різьблення питних | ні | |
| Крок ходового ггвинта, мм | 12 | |
| Вимикаючі упори | ні | ні |
| Різцеві санки | ||
| Найбільше переміщення різцевих санчат, мм | 220 | |
| Переміщення різцевих санок на один поділ лімба, мм | 0,05 | 0,05 |
| Переміщення різцевих санчат на один оборот лімба, мм | 5 | |
| Число ступенів поперечних подач різцевих санок | ні | 32 |
| Межі робочих подач різцевих санчат, мм/об | ні | 0,033..0,50 |
| Кут повороту різцевих санчат, град | +90; -45 | |
| Задня бабка | ||
| Конус | Морзе 5 | Морзе 5 |
| Найбільше переміщення пінолі, мм | 205 | 225 |
| Поперечне зміщення, мм | ±15 | ±10 |
| Електроустаткування | ||
| Кількість електродвигунів на верстаті | 2 | |
| Потужність електродвигуна головного приводу, кВт | 10 | 14 |
| Потужність електродвигуна насоса охолодження, кВт | 0,12 | |
| Насос охолодження (помпа) | ПА-22 | |
| Габарити та маса верстата | ||
| Габарити верстата (довжина ширина висота), мм | 3610 х 1690 х 1275 5110 х 1690 х 1275 |
3550 х 1740 х 1275 4950 х 1740 х 1275 |
| Маса верстата, кг | 3920 | 3800 5000 |