Токарно-гвинторізні верстати лінійки ДІП-500 випускалися підприємством Рязанський верстатобудівний завод , рік заснування – 1949.
Перші універсальні токарно-гвинторізні верстати з коробкою швидкостей для регулювання швидкості обертання шпинделя вперше в СРСР почали випускатися на Московському верстатобудівному заводі "Червоний пролетар" ім. А.І. Єфремова в 1932 році і отримали найменування ДІП-200, ДІП-300, ДІП-400, ДІП-50 (ДІП - Наздогнати І Перегнати - гасло радянського верстатобудування післяреволюційного періоду), де 200, 300, 400, 5.
21 лютого 1949 року Рязанський верстатобудівний завод випустив свій перший верстат. Це був токарно-гвинторізний верстат 164 серії.
Токарно-гвинторізні верстати серії ДІП-500 почали випускатися на Рязанському верстатобудівному заводі починаючи з моделі 165, у міру вдосконалення конструкції верстатів з'явилися моделі 1М65, 1Н65, 1Н65Ф1, 1Н65Г, 1Н65ГФ1.
Позначення лінійки верстатів серії ДІП-500 збереглося до теперішнього часу і зазвичай відноситься до моделі 1М65. Токарні верстати лінійки ДІП-500 зарекомендували себе як надійні та невибагливі, що не потребують підвищеної уваги.
На основі універсальних токарних верстатів Рязанським верстатобудівним заводом був освоєний випуск токарних верстатів з ЧПУ - 16К30Ф3 , 16М30Ф3 , 1П756ДФ3 , 16К40РФ3, 16Р50Ф3 та ін.
Також заводом освоєно випуск сучасних токарних обробних центрів з числом координат від 4 до 8, токарних верстатів з ЧПУ похилої та горизонтальної компоновок, трубообробних верстатів - для обробки кінців труб діаметром до 460 мм, колесотокарних, вальцетокарних, верстатів для обробки глибоких отворів та ін.
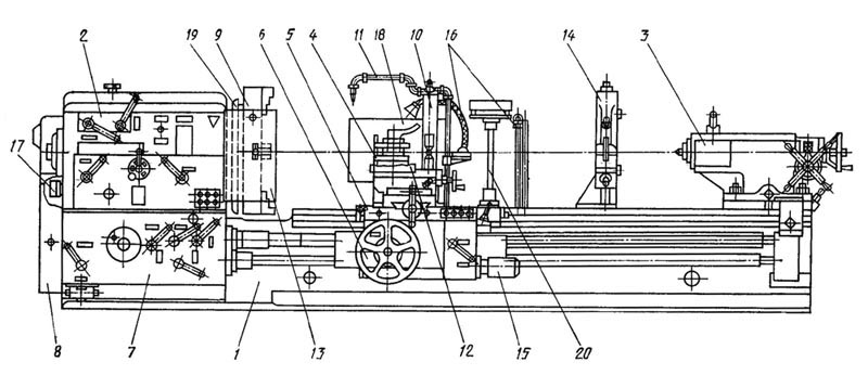
Універсальний токарно-гвинторізний верстат моделі ДІП-50 (1Д65) замінив застарілу модель верстата цієї серії 165.
Токарно-гвинторізний верстат моделі ДІП-50 (1Д65) призначений для обробки деталей середніх та великих розмірів, в умовах одиничного та дрібносерійного виробництва. На верстаті можна виробляти зовнішнє і внутрішнє точення, включаючи точення конусів, розточування, свердління та нарізування різьблень - метричної, модульної, дюймової та питної).
Верстат ДІП-50 призначений для обробки чорних та кольорових металів з великими швидкостями різання різцями зі швидкорізальної сталі та твердих сплавів.
Технічні характеристики та жорсткість конструкція станини, каретки, шпинделя верстата дозволяють повністю використовувати можливості роботи на високих швидкостях різання із застосуванням різців із швидкорізальної сталі або оснащених пластинами із твердих сплавів при обробці деталей із чорних та кольорових металів.
Супорт верстата ДІП-50 має механічне переміщення верхньої частинини, що дозволяє робити точення довгих конусів. Точення коротких конусів також здійснюється рухом верхньої частинини супорта.
Зміна величин подач і налаштування на крок різьби, що нарізається, здійснюються перемиканням зубчастиних коліс коробки подач і налаштуванням гітари змінних шестерень.
Супорт має швидке переміщення в поздовжньому та поперечному напрямках, яке здійснюється від індивідуального електродвигуна.
Коробка подач закритого типу забезпечує нарізування стандартного різьблення. Точні різьблення нарізаються із застосуванням змінних зубчастиних коліс, минаючи коробку подач.
Зміна чисел оборотів шпинделя та швидкості подачі супорта здійснюються перемиканням зубчастиних коліс коробки швидкостей та коробки подач за допомогою рукояток.
Переміщення задньої бабки та висування пінолі виконуються вручну обертанням маховичків.
Клас точності верстата Н. Шорсткість обробленої поверхні V 6.
Технічна характеристика та жорсткість верстатів дозволяють повністю використовувати можливості швидкорізального та твердосплавного інструменту при обробці як чорних, так і кольорових металів.
Вид кліматичного виконання - УХЛ4 за ГОСТ 15150-69.
Клас точності - Н за ГОСТ 8-82Е.
У 1930 році на Московському верстатобудівному заводі "Червоний пролетар" було прийнято рішення про розробку нового верстата токарного, стандартного, скорочено ТЗ. Дещо пізніше його перейменували на ДІП-200 – Догонім І Перегонім , за головним гаслом першої п'ятирічки, де 200 – висота центрів над станиною. Як прототип був обраний токарно-гвинторізний верстат німецької фірми VDF . У квітні 1932 року розпочалася підготовка випуску першої партії верстатів ДІП-200.
25 квітня 1932 року був зібраний і випробуваний перший радянський універсальний токарно-гвинторізний верстат з коробкою швидкостей - ДІП-200 . До кінця 1932 року було випущено 25 ДІПів.
У 1934 році на Московському верстатобудівному заводі "Червоний пролетар" освоюється випуск важких універсальних токарно-гвинторізних верстатів верстатів ДІП-300 (1д63) , ДІП-400 (1д64) , ДІП-500 (1д65) .
У 1940 році освоєно виробництво токарних верстатів ДІП-40 (1д64), ДІП-50 (1д65).
У 1944 році виробництво цих верстатів було передано на Рязанський верстатобудівний завод РСЗ , заснований у 1944 році.
Для освоєння виробництва верстатів на РСЗ першим був обраний токарно-гвинторізний верстат ДІП-400 з висотою центрів 400 м, який був докорінно перероблений і отримав назву - модель 164 .
У токарно-гвинторізному верстаті моделі 164 було передбачено преселективне керування швидкостями. Для зміни величини подач верстата було дві рукоятки. Керування переміщеннями супорта та каретки здійснювалося від однієї рукоятки, в яку вмонтовано кнопку для включення прискорених переміщень супорта та каретки. Верхня частинина супорта мала механічні рухи. У пінолі задньої бабки вмонтований центр, що обертається. Верстат був оснащений копіювальним пристроєм, у фартуху верстата встановлені електромагнітні муфти. Застосування легованих сталей для шестерень з відповідною термообробкою та шліфуванням по профілю зуба забезпечували надійність та довговічність верстата. Технічна характеристика верстата моделі 164 була вищою за рівень кращих зразків токарно-гвинторізних верстатів того часу.
Перший верстат було пред'явлено Державній комісії вже 21 грудня 1949 року. Верстат 164 встановлено на постамент біля головного корпусу заводу.
Верстат 164 згодом постійно уніфікувався, доопрацьовувався, удосконалювався, з'являлися нові моделі:
У 1953 році запущено у виробництво перший верстат 165-ї серії – модель 165 (діаметр обробки – Ø 1000 мм).
Серійний випуск токарних верстатів: 1м65 , 1н65 , РТ117 , РТ817 , РТ755Ф3 .








Електрична схема токарного верстата ДІП-50
Верстат обладнаний електродвигуном трифазного струму нормального виконання з короткозамкненим ротором. Тип електродвигуна МА202-2/4 потужністю 17 кВт, 1500 обертів за хвилину. Коефіцієнт потужності - cosφ = 0,875; номінальна сила струму приєднанні його обмоток зіркою і при включенні в мережу напругою 380 В складе 33,3 А, а при з'єднанні обмоток трикутником і включенні в мережу напругою 220 В складе 57,5 А. Встановлюється електродвигун на санках і з'єднаний зі верстатом ремен .
Подача охолоджувальної рідини здійснюється електронасосом типу ЕНТС-3, що встановлюється на кронштейні із задньої сторони каретки супорта верстата.
Электронасос состоит из електродвигуна і насоса, насаженных на один общий вал. Електродвигун мощностью 0,37 кВт 2800 оборотів в минуту, коеффициент мощности — cosφ = 0,74 кВт, к. п. д. = 0,82, напряжение 220/380 В, сила тока 1,9/1,1 А.
1) Магнитный пускатель. Главный двигатель управляется реверсивным магнитным пускателем типа ПМ-52, состоящим из двух контакторов ото 3 главных контакта і по одному нормально открытому блок-коктакту. Контакторы приводятся в действие от електромагнитов, на которых устанавливается катушка на напряжение в 220 или 380 В, в зависимости от напряжения сети.
Контакторы имеют механическую блокировку. Для защиты електродвигуна от перегрузок магнитный пускатель содержит максимальное тепловое реле, установленное на двух фазах. На етих реле устанавливаются нагревательные елементы типа НЭ105/45 при 220 В і типа НЭ105/38 при 380 В напряжения сети.
От коротких замыканий тепловое реле защитить електродвигатель не може, так как оно действует не мгновенно, а з некоторой выдержкой часу, которое находится в обратной зависимости от величины перегрузки. От коротких замыканий електродвигатель должен защищаться плавкими предохранителями, устанавливаемыми вне верстата самим заказчиком.
2) Кнопочные станції. Увімкнення, вимкнення і реверсирование головного двигуна производится нажимом соответствующих кнопок «Вперед», «Стоп» или «Назад» на кнопочных станціях.
На станке устанавливаются две кнопочные станції типа КУ-430. Одна из них располагается у передньої бабки, а вторая устанавливается на каретке.
3) Трехполюсные выключатели. Для керування електронасосом на фартуке каретки верстата установлен в одной коробке з кнопочной станцией трехполюсный пакетный выключатель типа ПКЗ-6/500.
Пакетный выключатель може быть заменен трехполюсным выключателем типа ЭЛ-1.
4) Предохранители. Для защиты електронасоса от токов короткого замыкания в той же коробке, в которой установлены кнопочная станція і пакетный выключатель, помещены плавкие предохранители типа Н з нормальной резьбой Эдисона.
5) Проводка на станке осуществляется в газовых трубах, а также в гибких металлических шлангах. Для подвода проводов в каретке устроено гибкое присоединение в виде пучка проводов, протянутых в гибкую резиновую трубку і подвешенных в виде спирали на двух стальных тросах сзади верстата; таким образом при перемещении каретки во время роботи вдоль станины верстата спираль либо растягивается, либо сжимается, обеспечивая неразрывную связь в електрической ланцюги.
| Наименование параметра | ДИП-50 (1Д65) | |
|---|---|---|
| Основні параметри верстата | ||
| Класс точності по ГОСТ 8-82 | Н,П | |
| Наибольший диаметр заготовки над станиной, мм | 1000 | |
| Наибольший диаметр заготовки над суппортом, мм | 600 | |
| Наибольшая длина заготовки (РМЦ), мм | 3000, 5000, 8000 | |
| Найбільша маса заготівлі в центрах, кг | 5000 | |
| Шпидель | ||
| Діаметр наскрізного отвору в шпинделі, мм | 85 | |
| Найбільший діаметр прутка, що затискається, мм | 80 | |
| Найбільший момент на шпинделі, кН/м | ||
| Найбільше поздовжнє зусилля різання Pz, кН | 1200 | |
| Найбільше поперечне зусилля різання Pх, кН | 780 | |
| Число ступенів частот прямого обертання шпинделя | 24 | |
| Частота прямого обертання шпинделя, об/хв | 5...500 | |
| Розмір внутрішнього конуса в шпинделі, М | 100, 1:20 | |
| Кінець шпинделя за ГОСТ 12595-72 | 1-15М | |
| Подання | ||
| Найбільше поздовжнє переміщення супорта РМЦ = 3000 мм | 2710 | |
| Найбільше поперечне переміщення супорта, мм | 600 | |
| Ціна поділу лімба при поздовжньому переміщенні, мм | 0,1 | |
| Ціна поділу лімба при поперечному переміщенні, мм | 0,05 | |
| Найбільше поздовжнє переміщення на оборот лімба, мм | 50 | |
| Найбільше поперечне переміщення на оборот лімба, мм | 6 | |
| Число ступенів поздовжніх подач | 32 | |
| Межі поздовжніх подач, мм/про | 0,20...3,05 | |
| Межі поперечних подач, мм/про | 0,07...1,04 | |
| Найбільше переміщення різцевих санчат, мм | 240 | |
| Швидкість швидких переміщень супорта, поздовжніх, м/хв. | 3 | |
| Швидкість швидких переміщень супорта, поперечних, м/хв. | 1 | |
| Кількість нарізних різьблень метричних | ||
| Межі кроків різьб метричних, що нарізаються, мм | 1...120 | |
| Кількість нарізних різьблень дюймових | ||
| Межі кроків різьблення дюймових | 28...0,25 | |
| Кількість нарізних різьблень модульних | ||
| Межі кроків різьблення модульних | 1...120 | |
| Кількість нарізних різьблення питних | ||
| Межі кроків різьблення питних | ||
| Задня бабка | ||
| Центр у шпинделі за ГОСТ 13214-79 | Морзе 5 | |
| Найбільше переміщення пінолі, мм | 300 | |
| Найбільше переміщення пінолі зі встановленим інструментом, мм | 280 | |
| Електроустаткування | ||
| Кількість електродвигунів на верстаті | 4 | |
| Електродвигун головного приводу, кВт/об/хв | 22 1460 |
|
| Електродвигун швидкого ходу, кВт/об/хв | 1,5 1400 |
|
| Насос мастила | C12-54 | |
| Насос охолодження (помпа) | ПА-22 | |
| Габарити та маса верстата | ||
| Габарити верстата РМЦ = 3000 мм | 6140 х 2200 х 1760 | |
| Маса верстата РМЦ = 3000 кг | 12800 |
Замовити
Хто володіє інформацією – той володіє світом.
Натан Ротшильд