Виробник та розробник токарного верстата моделі 1К282, 1283 - Московський верстатобудівний завод "Червоний пролетар" ім. А.І. Єфремова , заснований у 1857 році.
Перші універсальні токарно-гвинторізні верстати з коробкою швидкостей уперше в СРСР почали випускатися на Московському верстатобудівному заводі "Червоний пролетар" ім. А.І. Єфремова в 1932 році і отримали найменування ДІП-200 , ДІП-300 , ДІП-400 , ДІП-500 ( ДІП - Наздогнати І Перегнати), де 200, 300, 400, 500 - висота центрів над станиною.
У міру вдосконалення конструкції верстатів завод випускав дедалі сучасніші моделі - 1А62 , 1К62 , 16К20 , МК6056 .
Верстат моделі 1К282 випускався заводом "Червоний Пролетар" з 1970 року.
Верстат токарний восьмишпиндельний вертикальний напівавтомат послідовної дії моделі 1К282 призначений для чорнової та напівчистової токарної обробки деталей із чорних та кольорових металів у патроні; застосовується у великосерійному та масовому виробництві.
На напівавтоматі 1К282 можна виконувати обточування, розточування циліндричних, конусних та торцевих поверхонь, свердління, зенкерування та розгортання отворів одним або декількома інструментами.
Принцип дії напівавтоматів 1К282 і 1283. Обробка деталей на восьмишпиндельних токарних вертикальних напівавтоматах 1К282 і 1283 проводиться за принципом послідовності дії. Заготівлі, що встановлюються на завантажувальній позиції в затискні пристрої, періодичним поворотом шпиндельного столу (індексацією) послідовно підводяться до робочих позицій і одночасно обробляються на них інструментальними групами відповідно до технологічного процесу. Обробка поєднується із завантаженням-вивантаженням. Робота таких напівавтоматів еквівалентна роботі кільцевої автоматичної лінії з кількох багаторізцевих верстатів.
Обробка заготівлі, встановленої у патроні чи оправці, здійснюється послідовно на семи робочих позиціях. Восьма позиція – завантажувальна.
Вертикальне компонування напівавтомата 1К282 забезпечує гарне базування деталей у затискних пристрійх та зручність обслуговування напівавтомата, виключає засмічення направляючих супортів стружкою та дає можливість максимально використовувати виробничі площі. Стружка відокремлюється від емульсії та видаляється з напівавтомата шнековим транспортером.
При одинарній індексації заготовка, закріплена в затискному пристрої, послідовно обробляється на семи робочих позиціях верстата, одинарна індексація використовується при обробці складних деталей. Для обробки більш простих деталей застосовуються верстати із подвійною індексацією поворотного столу. Верстати у цьому виконанні мають дві завантажувальні позиції та обробка деталей проводиться у два потоки. Кожна заготівля послідовно обробляється трьох робочих позиціях X.
Технологічні можливості напівавтомата 1К282 гарантують високопродуктивну обробку деталей складної конфігурації, що потребує великої кількості різноманітних операцій. Гвинтова пара приводу супортів забезпечує високу жорсткість приводу та плавність подачі.
Перемикання на ходу подач та прискорених переміщень супортів значно скорочує час обробки. Оригінальна конструкція синхронізаторів забезпечує оптимальну динаміку розгону шпинделів. Верстат забезпечений центральним приводом включення та вимикання синхронізаторів та гальма шпинделя.
Розміри заготовки, що встановлюється, або затискного пристрій обмежуються поверхнями колони, повз які заготівля проходить при індексації, і деталями, що знаходяться на сусідніх шпинделях. Схема зони обробки, зображена на рис. 3, дані до якої наведені у табл. 1 показує, що діаметри, що проходять по циліндричній частинині колони, зменшуються на висоті направляючих. Нижня частинина зони зазвичай зайнята затискними пристроями, тому на напівавтоматах приймають за найбільший діаметр оброблюваної деталі найближчий діаметр ряду стандартних розмірів, що проходить із зазором над направляючими колони при повороті столу (рис. 3, а). Для моделей 1К282 та 1283 ці діаметри відповідають 250 та 400 мм.
Висота оброблюваної деталі визначається з урахуванням висоти затискного пристрою і довжини інструменту, що має найбільший виліт. При виборі моделі напівавтомата треба враховувати необхідність зазорів для сходу стружки, очищення поверхні столу між затискними пристрійми і для забезпечення безпеки роботи оператора, оскільки завантажувальні і робочі позиції тісно сусідять один з одним (рис. 3, б).
Аналіз застосування напівавтоматів показує, що деталі найбільших діаметрів обробляють рідко; якщо їх обробляють, то зазвичай одиничними різцями. Діаметри деталей, що найбільш часто обробляються, для напівавтоматів моделей 1К282 і 1283 знаходяться відповідно в межах 200 і 320 мм. Ці розміри (номінальні діаметри, якими дано позначення моделей) покладено основою визначення основних параметрів напівавтоматів (табл. 2).
На напівавтоматах можуть бути оброблені одиничними різцями деталі діаметри яких перевищують номінальні. Деталі типу дисків і фланців, що проходять під напрямними колони, якщо їх поверхні, що обробляються, в основному виходять за межі номінального діаметра, виготовляють при пропорційно зменшених режимах різання. Такі деталі доцільніше виготовляти на напівавтоматах 1286-8.
Напівавтомати випускають у двох виконаннях, що відрізняються частотою обертання, подачами і найбільшими моментами, що крутять, шпинделів. Верстати у силовому виконанні призначені для обробки деталей з великими та нерівномірними припусками або з ударними навантаженнями. Швидкісне виконання використовується переважно при виготовленні деталей із кольорових металів і легких сплавів, а також деталей із чорних металів, у яких діаметри в 2—3 рази менші за номінальний. Верстати найбільше доцільно використовувати для чорнової або напівчистової обробки в патронах важких деталей складної форми. Типовими деталями, що виготовляються на напівавтоматах, є диски, фланці, зубчасті колеса, шківи.
На напівавтоматах виконуються всі види токарних та розточувальних робіт, свердління, зенкерування та розгортання отворів, розташованих по осі деталі, а також нарізка різьблення (із застосуванням спеціальних пристроїв). За допомогою багатошпиндельних головок можна одночасно обробляти кілька вертикальних отворів, які розташовані не на осі деталі.
Верстати обладнують різними супортами відповідно до технологічного процесу обробки, оснащують затискними пристроями, інструментальними групами та допоміжними пристрійми (наприклад, підйомником для важких деталей, запресувальником, електромеханічним ключем для закріплення заготовки). Для видалення стружки на верстаті встановлюють збірник чи транспортер.
Розробник – московський верстатобудівний завод «Червоний пролетар» ім. А. І. Єфремова.

Габарит робочого простору вертикального токарного верстата 1к282

Посадочні та приєднувальні бази верстата 1к282

Фото токарного вертикального багатошпиндельного верстата 1к282

Фото токарного вертикального багатошпиндельного верстата 1к282

Фото токарного вертикального верстата 1к282

Конструкція багатошпиндельного токарного верстата 1к282
Конструкція токарного верстата 1К282. Завантажити у збільшеному масштабі
Компонування механізмів вертикального токарного верстата 1К282 (рис. 6). Верстат складається із восьми секторів-позицій. Перша позиція — завантажувальна, не потребує приводів, і її сектор використано розміщення пристроїв, загальних всім позицій. Кожну з інших позицій можна як верстат, що з іншими загальними приводами, керуванням і єдністю базових деталей.
Верхній блок токарного верстата 1К282 . На дископодібному нижньому вінці 24 в секторі завантажувальної позиції змонтований редуктор головного приводу 21 з електродвигуном 19. Сім коробок подач 15, розташованих у секторах робочих позицій, приєднані до центральних зубчастиних колес 18, що обертається навколо корпусу 17 гідроциліндра включення синхронізаторів, шток керування 23 включенням синхронізаторів. На нижній площині вінця укріплена арматура освітлення, під коробками подач - командоапарати позицій 14. Усі пристрої цього блоку накриті верхнім вінцем 20, на якому встановлені футляри 16, що захищають ходові гвинти. Периферія блоку огороджена щитками 22, що ковзають у кільцевих канавках вінців.
Середній блок . На колоні 27 (пустотілому виливку з восьмигранною верхньою частининою, що переходить через проміжний циліндричний пояс у нижню конічну частинину) змонтовані вузли, в основному визначають точність і жорсткість верстата.
На гранях робочих позицій закріплені сталеві загартовані планки, що утворюють напрямні типу «хвист ластівки», по яких ковзають супорти 10. Отвори під болти кріплення планок захищені від засмічення свинцевими пробками. На загартованій конічній поверхні колони центрується поворотний шпиндельний стіл 7, утримуваний упорним підшипником 29. Ця поверхня служить також для передачі на стіл олії з гідросистеми для змащування. Через порожнину колони проходять робочі вали 11 ланцюга головного приводу, а також центральна тяга приводу 26 включення синхронізаторів і гальма, з'єднана зі штоком гідроциліндра на верхньому блоці. Тягу утримує від повороту поперечний вал, що входить у скобу на кришці, що закриває вікно в колоні на позиції завантаження. Проти кришки знаходиться сполучна деталь 28 трубопроводу мастила, що має отвір для зливу надлишків олії. На верхній торець колони встановлено верхній блок.
Нижній блок . На чашоподібній основі 38 напівавтомата, що має в центрі підняту тумбу, зосереджений ряд цільових механізмів. У нішах тумби в секторах робочих позицій встановлені синхронізатори 44, в ніші на завантажувальній позиції - гальмо 40. У цьому ж секторі змонтовані механізм повороту 39 столу мальтійського типу, фіксатор 34 і редуктор 37 приводу механізму повороту, укріплений на периферії підстави. Між четвертою та п'ятою позиціями встановлена насосна установка 1, над якою розміщений командоапарат індексації 2, що наводиться горизонтальним валом 45, пов'язаним з механізмом повороту та фіксатором. Вище розташована головна панель керування 5 гідросистеми, прикріплена до однієї з трьох стійок 47 основи, на яких змонтований кільцевий жолоб 5 (так зване емульсійне кільце) для відведення від столу стружки і відпрацьованої мастильно-охолоджуючої рідини. По широкому зовнішньому жолобу кільця стружка, що змивається зі столу потоком рідини, транспортується при індексації столу скребками, укріпленими на його периферії, і скидається на восьмій позиції, де зовнішня стінка жолоба переривається над збіркою стружки 32. По внутрішньому вузькому жолобу цю ж зону стікають витоку, що просочився при переповненні зовнішнього жолоба. На кільці встановлені стійки 30 огородження 5, що підтримують магістраль 9, яку через стійку між третьою і четвертою позиціями нагнітається СОЖ. До стійки між четвертою та п'ятою позиціями прикріплений електрошафа 6, змонтований на кронштейні 4. Внутрішні порожнини всіх інших стійок використовуються для розміщення пультів керування. На завантажувальних позиціях прикріплені кулачки 33 керування відсічними золотниками столу 31. У канавках основи та емульсійного кільця встановлені рухомі щитки огорожі 35.
На тумбі закріплений фланець 43 з ковзним валом 41, на якому змонтовані два диски 42, що приводять важелі синхронізаторів та гальма. Верхній кінець валу з'єднаний байонетним методом із центральною тягою. Через отвори в тумбі та фланці і через паз валу 41 проходить вал 45 приводу командоапарата індексації, що перетинає всю основу. На торці тумби змонтовано середній блок у зборі. Колона центрована на посадковому пояску тумби, орієнтована ромбічним пальцем, прикріплена зсередини та фіксована конічними штифтами, встановленими радіально у стик торців.
Основа є також резервуаром олії гідросистеми. Механізми, що базуються на підставі, відокремлені від резервуара щитками 46, що направляють стікає з механізмів масло через найбільш віддалені відсіки для кращого очищення і полегшують проведення ремонтних робіт.
Навколишні вузли . Праворуч і ліворуч від верстата встановлюють з'єднані між собою резервуари СОЖ. У зоні восьмої позиції напівавтомата проти жолоба емульсійного кільця на резервуар 36 монтують збірку стружки 32 або транспортер.
У технологічній пружній системі СНІД (верстат - пристрій - інструмент - деталь) напівавтомата беруть участь переважно нижній і середній блоки. Сили, що виникають при різанні, передаються по ланцюжку: інструмент та різцетримач, супорт, колона, основа, фіксатор, шпиндельний стіл та шпиндель, затискний пристрій, інструмент. Спільними всім позицій елементами є колона, основа, фіксатор, стіл. Усі позиції напівавтомата тісно пов'язані у єдину технологічну систему та взаємодіють при навантаженні.

Розташування органів керування вертикальним токарним верстатом 1к282
Органи керування верстатом . Введення верстатів напівавтоматів в експлуатацію передує ознайомлення персоналу, що бере участь у пусконалагоджувальних роботах та обслуговуванні верстатів, з посібником з експлуатації, кресленнями та схемами напівавтомата, його оснащенням та налагодженням. Особливо важливі знання органів керування та послідовність їх включення, набуття навичок користування ними у будь-яких ситуаціях, включаючи аварійні. Все керування верстатом здійснюють за допомогою електричних кнопок та перемикачів (рис. 77). У стійках огорожі на завантажувальній позиції розташовані головні пульти керування: лівий I та правий II. На інших стійках встановлені пульти керування шпинделями III, кожен з яких діє одночасно на всі шпинделі. Рукоятка 1 приводу вступного вимикача знаходиться на бічній стінці електрошафи. На протилежній стінці встановлено допоміжний пульт керування IV. Налагодження роботи супорта виконують за допомогою груп органів керування V командоаппаратах.
До включення верстата перемикачем 10 встановлюють режим налагодження або напівавтоматичний роботи. Після цього кнопкою 6 включають електропривід гідросистеми і потім кнопкою 7 електропривід головного руху. Ці приводи можна вимикати будь-якій з аварійних кнопок 9, 17 і 20. Подача СОЖ включається вимикачем 21. При роботі з двома завантажувальними позиціями з правого пульта виробляють затискач заготовки на позиції 1 кнопкою 11, розтискання - кнопкою 12. Затискач і розтискання на позиції II відповідно кнопками 3 та 4 лівого пульта. При одній завантажувальній позиції кнопка 11 дублює кнопку 3, а кнопка 12 - кнопку 4. Вплив на кнопки 4 і 12 не потрібно, якщо передбачається автоматичний розтиск.
У напівавтоматичному режимі пуск циклу виконують кнопками 5 або 13. При пуску зелена лампа 2 «Початкове положення супортів» повинна світитися, сигнал жовтої лампи 15 «Супорт несправний» повинен бути відсутнім. Цей сигнал з'являється при перевантаженні будь-якого супорта і після усунення несправності може бути анульований кнопкою 16. Оператор може зупиняти і продовжувати подачу супортів вимикачем 14.
Інші органи керування використовують при налагодженні. Кнопки 8 і 22 служать для включення повороту столу (при включеному гідроприводі), кнопки 18 і 19 - для включення та вимкнення шпинделів та фіксатора. Кнопки та перемикачі групи V використовують для налаштування командного апарату. Кнопкою 26, вбудованою в ручку, включають швидке поштовхове підведення супорта. Підведення закінчується за командою вимикача в командоапараті, і супорт переходить на робочу подачу навіть якщо кнопка натиснута. Подачу можна зупинити вимикачем 24. Після його включення подача триває, поки кулачок командоапарата не включить швидке відведення, яке можна зупинити вимикачем 23. Супорт можна відвести на будь-якому етапі циклу короткочасним підйомом рукоятки 25 командоапарата.

Панель керування командоапаратом токарного верстата 1к282
Командоапарат, з'єднаний з коробкою подач, служить для керування робочими та холостими ходуми супорта в автоматичному та налагоджувальному режимах роботи. Через вбудований черв'ячний редуктор рух передається на кулачковий вал 14 (рис. 11) із встановленими на його різьбових поясках кулачками /5, 16, 18 та 20 зі маточкою у вигляді розрізної гайки. Кулачки за допомогою передавальних важелів з регулювальними болтами 19 впливають електричні колійні вимикачі. Важелі кулачків 15, 16 і 20 однакові. Важель кулачка 17 - широка планка з трьома регулювальними болтами.
Дорожні вимикачі 3 (КП) та 5 (КБ) з двоплечими важелями застосовані без пружин самоповернення. Вони мають властивість запам'ятовування команди, для зняття якої необхідно натиснути на протилежне плече важеля. Вимикачі 4 (КІ) та 6 (КМ) мають самоповернення і несуть одноплечі важелі 2. Вимикач 4 призначений для контролю вихідного положення супорта. Вимикач 3 служить керувати швидким підведенням супорта. При дії на праве плече його важеля у вихідному положенні підготовляється швидке підведення у наступному циклі, що настає при подачі електроживлення. Який впливає на ліве плече важеля кулачок 20 вимикає швидке підведення і перемикає супорт на робочу подачу. Вимикач 5 управляє швидким відведенням супорта. Натискання на ліве плече його важеля у вихідному положенні вимикає відведення, а на праве плече кулачком 16 автоматичному циклі включає відведення. Вимикач 6, який служить для зміни подачі під час обробки, керується від кулачка 15. Кулачок 18 у вихідному положенні супорта керує трьома вимикачами 3, 4, 5.
На панелі колійних вимикачів встановлена кнопка 7 (АТ) сигналізації порушення роботи супорта в автоматичному режимі, керована важелем, закріпленим на валу 10 12 рукоятки з вбудованою кнопкою швидкого підведення супорта. Кнопку 7 закриває коробка з двома перемикачами, необхідними для керування супортом у режимі налагодження. Корпус командоапарата закривається відкидною кришкою, що замикається пружинною клямкою. Редуктор і опори кулачкового валу змащують консистентним мастилом через різьбові отвори в центрі склянок 11 і 21. Коли вимикачі 3, 4 і 6 управляються виключно кулачками, то вимикач 5 швидкого відведення супорта функціонує також і при ручному керуванні, і при перевантаженні. У цих випадках разом із ним включається кнопка 7.

Схема зовнішнього керування командоапаратом токарного верстата 1к282
Схема зовнішнього керування вимикачем 5 та кнопкою 7 показана на рис. 12. При підйомі рукоятки 1 відбувається підйом закріпленого на валу 10 важеля 3, що включає кнопку 2. Однозначно бічна поверхня а уступу на торці вала 10 упирається і нижню площину важеля 5 і піднімає її, відриваючи ролик від кулачка 6. При цьому спрацьовує право ) плече важеля на вимикачі 4 швидкого відведення та відбувається відведення супорта. При звільненні рукоятки вона падає вниз, і інша сторона виступу на торці її валу б упирається в важіль 5, що постійно притискається пружиною 7 до штовхача 9, пов'язаного з пристроєм сигналізації перевантаження супорта коробки подач (див. рис. 8). При перевантаженні штовхач переміщається вниз і, повертаючи вал 10 разом з важелями 3, 5 і ручкою 7, діє так само, як підйом рукоятки при ручному керуванні.
У командоапараті підлягають регулюванню передавальні системи, що впливають на вимикачі та кнопку. При регулюванні ролики важелів послідовно встановлюють на вершину відповідного кулачка і обертанням регулювальних болтів досягають спрацьовування вимикача з мінімальним перетисканням. Спрацьовування спостерігають через прозору кришку. Регулюванням забезпечують мінімальне випередження спрацьовування вимикача 4 КВ перед вимикачем 5 КБ (рис. 11), інакше може розпочатися повторний цикл. Увімкнення кнопки сигналізації має відбуватися з невеликим випередженням спрацьовування вимикача швидкого відведення.
Синхронізатор. Після кожної індексації столу його шпинделі повинні обертатися з частотою позиції, до якої вони надійшли. Синхронізатори служать для ненаголошеного з'єднання шпиндельної групи зі стаціонарною частининою головного приводу відповідної позиції.

Командоапарат індексації столу токарного верстата 1к282
Команда апарат індексації. Після закінчення робочих циклів позицій, за вимкненням фіксатора, синхронізаторів і гальма (вимиканням шпинделів) стіл повертається. Стіл постійно зчеплений з механізмом повороту: при індексації за допомогою ролика водила, в проміжних положеннях за допомогою пальця, що блокує. Холостий хід водила, при якому ролики знаходяться поза планками і стіл зупиняється становить 45°. Втрати часу між робочими циклами зменшуються негайним після закінчення повороту столу включенням шпинделів і фіксатора, під час якого відбувається більша частинина холостого ходу водила, що завершується гальмуванням поблизу планки, що працює в наступному циклі.
Командоапарат індексації (рис. 18) служить для налагодження кута повороту столу, визначення його положень, при яких допустиме завантаження та обробка деталей, для налаштування командних точок закінчення повороту та включення шпинделів та фіксатора, а також контролю положення фіксатора. Всі ці функції виконуються шляхом дії кулачків на колійні вимикачі. Шляхові вимикачі закінчення повороту 9 і контролю розчеплення водила .7, мають зрізані та пружні ролики, що оберігають апарати при неправильному напрямку руху кулачків (наприклад, при ручному повороті), змонтовані на планці 2, прикріпленої до стійки 1 основи між четвертою і п'ятою позиціями. Вимикач 5, що контролює відвід фіксатора, поміщений на кронштейні 6, встановленому на установці насоса. Приводом командоапарата є вал 8, що має зворотно-поступальний та обертальний рух. Перше їх повторює рух фіксатора, якого приєднаний протилежний кінець вала, другий — рух водила, з яким вал пов'язаний. Опора валу служить втулка 4, що обертається на підшипнику, встановленому в отворі стійки (див. рис. 6). Кулачок 7 (рис. 18), натискаючи на ролик вимикача 5, сигналізує про повне відведення фіксатора.
Кулачки монтують на планку 2 (рис. 19), що закріплюється на втулці клиновими елементами 3. Загострені кулачки 4, що впливають на вимикач 9 (див. мал. 18), встановлюють зовні планки. Широкі кулачки 1, що дозволяють увімкнення шпинделів і фіксатора, прикріплюють з її зворотного боку. Кожному типу індексації властива певна комбінація кулачків. При одинарній індексації (рис. 19 а) встановлюють дві пари кулачків і при кожній індексації надходять команди на включення шпинделів і зупинка механізму повороту. При подвійній індексації з двома завантажувальними позиціями (рис. 19 б) встановлюють лише два різних кулачка, в результаті чого вимикачі спрацьовують тільки після повного повороту планки (відповідного повного повороту водила). При подвійній індексації з однією позицією завантаження (рис. 19, в) кулачки забезпечують зупинку повороту після кожної індексації і дозвіл на включення шпинделів через позицію.
Для багатопотокової обробки збільшують втричі передатне відношення редуктора приводу командоапарата, замінюючи його черв'ячну пару 26-27 (див. рис. 4), після чого за три оберти водила планка робить один оберт. Установка кулачка 5 зупинки повороту з трьома виступами і єдиного кулачка 1 дозволу включення шпинделів (рис. 19, г) забезпечує зупинку столу після кожних двох індексацій для завантаження та обробку при здійсненні шести індексацій.
Узгодження положення водила та кулачків командоапарата здійснюється установкою планки 2 таким чином, щоб у момент виходу ролика з планки кулачок 4 викликав спрацьовування вимикача 9 (див. рис. 18). Регулювання забезпечує зупинку ролика з відривом щонайменше 30—50 мм від наступної планки.

Схема електрична структурна токарного верстата 1к282
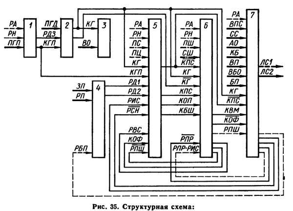
Структура електроустаткування. Найважливіші структурні частинини електроустаткування зображені на рис. 35. Зв'язки цих частинин між собою і оператором зображені лініями: тонкими суцільними — для зв'язків, що постійно діють, штриховими — для зв'язків напівавтоматичного режиму роботи, штрихпунктирними — для зв'язків налагоджувального режиму роботи, потовщеними — для зв'язків між машиною і оператором. Для спрощення не показано пристрої живлення, аварійного відключення та керування в налагоджувальному та напівавтоматичному режимах. Лише зв'язки з останнім пристроєм відзначені вхідними сигналами. Кожна лінія зв'язку інформує про стан частинин схеми або команду оператора.
Більшість зв'язків зберігає свою дію незалежно від обраного режиму роботи та служить для захисту оператора та верстату від аварійних ситуацій при помилках керування, блокуючи:
З огляду на це перед початком роботи необхідно виконувати наступну послідовність операцій:
У напівавтоматичному режимі роботи з сигналу оператора ПЦ «Пуск циклу» за наявності сигналів РА, КГ, РД1, РД2, РІС, PCНу РВС, КОФ і РПШ включається поворот столу. Наприкінці повороту з'являється імпульсний сигнал КОП, що визначає включення керування шпинделями, яке відразу виробляє сигнал РПШ, що включає керування супортами. Робота цих двох структурних елементів поділяється на дві основні фази - пускову та робочу.
Під час пускової фази поява сигналів -КПС та КБШ у поєднанні з сигналами РА, КГ та -РПР визначає включення шпинделів. Сигнали КВМ і -КОФ разом із сигналами КГ, -КПС і РПШ визначають пуск супортів. Протягом пускової фази роботи частинин 6 і 7 зникає сигнал РПШ, тимчасово блокуючи пуск повороту столу, і з'являється сигнал РБП, що використовується в управлінні затискними пристроями для отримання автоматичного розтискання. Завершення пускової фази в управлінні супортами збігається зі зникненням сигналу -РПР, яке визначає закінчення пускової фази роботи в управлінні шпинделями. При цьому з'являється сигнал РПШ і зникає сигнал РПШ. Під час роботи супортів не виключено появу сигналу несправності ЛС1 та одночасне зникнення сигналу -РСН, що блокує пуск наступного циклу. Оскільки робота супортів відбувається повністю автоматично, то цієї найбільш тривалої фазі роботи оператор зайнятий розвантаженням готових деталей і завантаженням заготовок, що закінчується появою сигналів РД1 і РД2. Наприкінці роботи супортів для оператора з'являється сигнал ЛС2 і сигнали РІС і РПР*РІС, останній з яких викликає відключення шпинделів. При цьому в верстаті припиняється рух усіх органів, але електроустаткування входить у вихідний стан після зникнення сигналів
КВМ і -КОФ, поява сигналів РВС і КОФ, що підтверджують готовність елементів верстата до початку нового циклу.
У режимі налагодження роботи припиняється дія зв'язків, що забезпечують необхідну послідовність дії частинин верстата, і вступають в дію нові зв'язки між верстатом і оператором.
На верстаті встановлені 4 трифазні асинхронні електродвигуни з короткозамкненим ротором:
На кожній робочій позиції встановлено коробку подач з чотирма електромагнітними муфтами на 24В постійного струму та командоапаратом для керування роботою муфт.
Муфти здійснюють прискорені та робочі переміщення супорта:
Увімкнення та відключення муфт здійснюється наступними колійними перемикачами командоапарату:
У командоапараті є також:
Останні 3 елементи полегшують налагодження роботи супорта.
З задньої сторони верстата, на його підставі, знаходиться гідроагрегат та гідропанель, на якій знаходяться 3 гідрозолотники з електромагнітами постійного струму на напругу 24В.
Золотник про електромагніти ЕМ1 та ЕМ2 - керує включенням та відключенням шпинделів;
Золотник з електромагнітами ЕМ3 та ЕМ4 - затискачем та розтисканням патрона на завантажувальній позиції;
Золотник з електромагнітами ЕМ5 та ЕМ6 - затискачем та розтисканням патрона на другій завантажувальній позиції (при виконанні верстата з двома завантажувальними позиціями).
Для контролю роботи органів верстата під гідропанеллю встановлені колійні перемикачі та реле тиску;
На нижньому вінці встановлені колійні перемикачі, позначені на схемі КОС та КВМ.
Керування верстатом проводиться з двох основних пультів, розташованих ліворуч та праворуч від завантажувальної позиції.
На лівому пульті керування (№ 1) знаходяться такі елементи:
На правому пульті керування (№8) розташовані такі елементи:
Крім цих двох основних пультів у стійки емульсійного кільця вбудовані ще 5 однакових пультів з кнопками пуску та зупинка шпинделів верстата (Пульти №№ 2,3,5,6,7. У верстатах з подвійною індексацією пульт №2 відсутня, а на його місці знаходиться пульт №1).
На всіх пультах є кнопка аварійного зупинки.
До складу електроустаткування входить шафа керування. У ньому знаходяться:
На бічній стінці шафи знаходиться кнопка ПС, "Поворот столу", а також вимикач охолодження і розетка для підключення переносної лампи.
Верстати можуть мати 3 основні виконання:
Електросхема верстата універсальна та дозволяє здійснити зазначені виконання без зміни монтажу.
Перехід про одну завантажувальну позицію на дві і назад проводиться за рахунок перестановки перемичок на наборах клемних шафи.
Перехід із однієї індексації на подвійну і назад, тобто. керування механізмом повороту столу здійснюється взагалі без зміни електросхем, тільки за рахунок необхідної установки кулачків, що впливають на колійні перемикачі КОП і КБШ,
При встановленні верстат має бути надійно підключений до системи заземлення. Для цієї мети на підставі верстата передбачено болт заземлення.
Далі перевіряється робота кожного супорта, включення – відключення шпинделів; затискач - розтискання патрона, поворот столу, включення - відключення охолодження і т.п.
Переконавшись, що всі елементи верстата працюють правильно, можна перейти до перевірки автоматичного циклу.
Усі перевірки роботи механізмів верстата необхідно виконувати у присутності спеціаліста - механіка, який знає пристрій верстата.
Перемикач АН "Автомат-налагодження" необхідно поставити в положення "Налагодження".
Включається реле РН, та його контакти 38-39, 42-43, 54-55 підключають кнопки "Поворот столу" (ПС-1 та ПС), "Пуск шпинделів" (ПШ) та "Стоп шпинделів" (СШ).
Для роботи гідрофікованих вузлів верстата слід увімкнути двигун гідроприводу ДГП.
Натисканням кнопки "Пуск гідроприводу" ПГП ланцюга 137-138-139 включається контактор гідроприводу КГП, який своїм контактом 137-138 стає на саможивлення.
Двигун головного приводу ДГ вмикається контактором КГ.
Для цього кнопкою "Пуск головного приводу" ПГД ланцюга 138-142 включається контактор КГ, який по ланцюгу 137-143-140 переходять на саможивлення.
Переміщення робочих органів верстатів можливі лише після попереднього запуску гідроприводу та головного приводу.
Поворот стола відбудеться після включення реле повороту столу РПС ланцюгом 1-54-55-56-57-58-59.
Одночасно включається контактор КПС контактом РПС 137-145 та реле РВТ.
Двигун повороту столу відключається в момент спрацьовування колійного перемикача КОП, що розмикає ланцюг саможивлення реле РПС на контактах 55-56;
Для запобігання зайвому пробігу водила стола, через 1 з після відключення реле РПС, включається електромагнітна гальмівна муфта МТВ. Тривалість увімкнення муфти 1 сек.
Керування гальмуванням здійснюється двома реле часу РВТ та РОТ. Затримка відключення у кожного реле 1 сек.
Після включення реле РВТ розмикається контакт 1-16 і замикається контакт 1-15, що включає реле РОТ. Через I з після спрацьовування колійного перемикача КОП, контакт реле РВТ 1-15 розмикається, а контакт РВТ 1-16 замикається. Завдяки затримці на відключення, якір реле РОТ залишається притягнутим, і створюється замкнутий ланцюг 1-16-17, яким включається гальмівна муфта МТВ.
Після закінчення часу затримки контакт РОТ 16-17 розмикається, і муфта МТВ вимикається.
Пуск шпинделів здійснюється включенням електромагніту ЕМ1.
Ланцюг живлення його: 1-31-38-39-40-41.
Увімкнення ЕМ1 можна здійснити з будь-якого пульта керування кнопкою ПШ "Пуск шпинделів".
Вимкнення шпинделів здійснюється включенням електромагніту ЕМ2. Ланцюг живлення його: 1-42-43-50.
Вмикання ЕМ2 здійснюється з будь-якого пульта кнопкою СШ "Стоп шпинделів".
Прискорені переміщення та робочі подачі супорт отримує при включенні будь-якої електромагнітної муфти (МБ0, МШП, МКП, ММП).
Роботою муфт управляють колійні перемикачі КІ, КП, КМ та КБ.
У верхньому вихідному положенні супорта контакти колійних перемикачів КБ-1-4, КП-8-9, КМ10-11 замкнуті, а контакту КІ7-8 розімкнені.
Точка спрацьовування колійних перемикачів визначається положенням кулачків командоапарата
Швидке підведення здійснюється включенням муфти МШП після натискання на кнопку БП, вбудовану в рукоятку командоапарата.
Ланцюг живлення муфти: 1-4-5-Р0С-6-БП-8-9. Швидке підведення припиняється після відпускання кнопки.
Якщо не відпускати кнопку БП, супорт досягне точки, в якій спрацює колійний перемикач КП. При цьому контакт 8-9 розімкнеться і відключить муфту швидкого підведення МШП, а контакт 6-10 замкнеться, включивши муфту великої подачі МКП. В результаті швидке підведення супорта зміниться великою подачею.
Велика подача продовжуватматися до точки, в якій спрацює колійний перемикач КМ. При цьому контакт 10-11 розімкнеться і відключить муфту великої подачі МКП, а контакт 10-12 замкнеться, включивши муфту дрібної подачі ММП. В результаті велика подача супорта зміниться дрібною подачею. Дрібна подача продовжується до кінця обробки деталі. У цій точці має спрацювати колійний перемикач КБ. Його контакт 1-4 розімкнеться і відключить всю частинину схеми з муфтами, що керують рухом супортів вниз; контакт КБ1-2 замкнеться та включить муфту швидкого відведення супорту МПВ. Під час швидкого відведення контакти колійних перемикачів КП та КМ повертаються у вихідне положення. Зупинка супорта у вихідному положенні визначається моментом спрацьовування колійного перемикача КБ, який контактом 1-2 відключить муфту швидкого відведення МПВ, а контактом 1-4 підготує схему робочої позиції до наступного циклу обробки.
При налаштуванні кулачків командоапарата необхідно пам'ятати, що для правильної роботи електросхеми колійні перемикачі КІ та КБ повинні перемикатися у суворій послідовності. Регулюванням кулачків необхідно домогтися того, щоб, при швидкому відведенні супорта, спочатку спрацював колійний перемикач КІ і відразу, слідом за ним, колійний перемикач КБ, що припиняє швидке відведення.
При необхідності швидкого відведення супорта під час його роботи потрібно ручку командоапарата повернути вгору. Через систему важелів рукоятка впливає на колійний перемикач КБ. При цьому відбувається відключення робочих муфт та включення муфти швидкого відведення. З цією рукояткою пов'язана кнопка АТ, сигнал з якою використовується при напівавтоматичній роботі верстата.
У командоапараті є загальний кулачок для на перемикачі КІ, КБ і КП у вихідному положенні супорта. Перемикачі КБ і КП без самоповернення і для їх роботи є самостійні кулачки, що регулюються, що визначають точки швидкого відведення і включення подачі. Повернення перемикачів КБ та КП відбувається у момент повернення супорта у вихідне положення. Перемикач КМ із самоповерненням і визначає зміну подачі при дії на нього окремого регульованого кулачка.
Крім цього, в командоапараті є два тумблери: вимикач швидкого відведення ВБО та вимикач подачі ВП, які полегшують розміщення кулачків при налагодженні роботи супорта.
Електричні схеми керування кожної робочої позиції ідентичні і відключаються лише дробовим індексом, що вказує на номер робочої позиції.
Для керування патроном завантажувальної позиції на головних пультах верстата (№1 та №8) є кнопки затискання та розтискання патрона.
Верстати можуть мати одну чи дві завантажувальні позиції. При двох завантажувальних позиціях кнопки ЗП-8 та РП-8 включають електромагніти ЕМ3 та ЕМ4 гідрозолотника, що управляє затискачем та розтисканням лівого патрона; кнопки ЗП-1 і РП-1 включають електромагніти ЕМ5 та ЕМ6 гідрозолотника, що управляє затискачем та розтисканням правого патрона Контроль затискача лівого патрона здійснює реле тиску РД-2, а контроль затиску правого патрона РД-1. Контакти цих реле знаходяться в ланцюзі 56-57-68 живлення реле повороту столу РПС, забороняючи його увімкнення при розтиснутих патронах.
При включеному головному приводі за бажанням можна скористатися охолодженням. Для пуску насоса необхідно вимикачем охолодження по ланцюгу 140-144 включити контактор КО.
В аварійних випадках можна зупинити будь-який рух робочих органів верстата за допомогою кнопок СА, розімкнувши ланцюг керування на контактах 129-137;
Для роботи на верстаті напівавтоматичного циклу перемикач АН необхідно поставити в положення "Автомат".
При цьому реле РН відключиться, а реле РА включиться і в схему керування будуть включені додаткові реле, що дозволяють зв'язати окремі переходи безперервний цикл обробки деталі.
Перед пуском циклу гідропривід і головний привід повинні бути включені, а завантажувальний патрон позиції затиснутий.
Цикл запускається натисканням кнопки "Цикл" ПЦ. При цьому включається реле РПС ланцюга 1-61-62-63-ПЦ-64-56-59, що переходить на саможивлення при включеному реле РВТ. У разі реле РВТ використовується для підготовки гальмування водила столу. Одночасно контакт РПС 137-145 включає контактор КПС.
Наприкінці повороту, в момент виходу водила стола із зачеплення зі столом, спрацьовує колійний перемикач КОП, який контактами 55-56 відключає реле РПС, а замикаючим контактом 65-68 включає реле пуску шпинделів РПШ. Реле РПШ своїм контактом 65-69 стає саможивлення, і контактом 31-39 замикає ланцюг живлення електромагніту ЭМ1. Після цього за допомогою гідравліки відбувається підведення фіксатора столу та включення шпинделів.
При підведенні фіксатора спрацьовує колійний перемикач КОФ, який контактом 65-71 готує ланцюг запуску супортів.
Пуск шпинделів відбувається у два етапи:
При розгоні шпинделів кінцевий вимикач КОС розмикає ланцюг живлення ЕМ1 і готує контактом 1-42 ланцюг включення електромагніту ЕМ2 для подальшого відключення шпинделів. Після жорсткого включення шпинделів спрацьовує кінцевий вимикач КВМ, що замикає контактом 76-77 ланцюг живлення реле РОС, яке контактом 71-72 включає реле РБП.
Контакти реле РОС 5-6 і реле PБП 6-8 замикають ланцюг живлення муфт МБП1.. МБП7 і починається швидке підведення всіх супортів. При цьому реле часу РВ відключається із затримкою в 1 сек.
Після цієї затримки ланцюг 72-73 замкнеться і реле РПР увімкнеться. В результаті відбудеться послідовне відключення реле РПШ (контактом РПР 69-70) та реле РБП (контактом РПШ 72-74).
Тривалість включення реле РБП є достатньою для того, щоб усі супорти зійшли зі свого вихідного положення.
Шляхові перемикачі КІ командоапаратів своїми контактами, що розмикають 7-8, ще до відключення реле РБП, встигають створити паралельний ланцюг живлення муфт МБП, після чого кожен супорт здійснює свій робочий цикл.
Після повернення всіх супортів у вихідне положення ланцюга 1-1/7-53 включається реле РІС, яке контактом 42-51 замикає ланцюг 1-42-51-50 живлення електромагніту ЕМ-2.
Відбувається відведення фіксатора столу та відведення синхронізаторів шпинделів. При цьому контакт КВМ (76-77) відключає реле РОС, контакт РОС 71-72 відключає реле РПР.
Потім спрацьовує кінцевий вимикач КОС, який при відведенні синхронізаторів замикає ланцюг 1-31, дозволяючи через реле РВС зробити поворот столу.
Одночасно спрацьовує колійний перемикач КОФ, що дозволяє контактом 147-148 зробити поворот столу. У цьому автоматичний цикл закінчується.
Так як час знімання, встановлення та затискання деталі в патроні завантажувальної позиції, як правило, менше часу циклу, схема передбачає можливість подачі команди "Пуск циклу" раніше, ніж закінчиться обробка на робочих позиціях. У цьому випадку натисканням на кнопку ПЦ включається реле повороту столу РПС, що переходить на саможивлення і ланцюга 137-145 готує ланцюг повороту столу.
При спрацьовуванні реле відключення синхронізаторів РВС замикається ланцюг 137-145-146-147-148 живлення контактора повороту столу КПС і починається наступний цикл без втрати часу між відключенням одного циклу і початком іншого.
Електросхема передбачає можливість автоматичного розтискання патрона завантажувальної позиції. Для цієї мети на клемах 1-22 встановлюють перемичку, завдяки якій контактами РБП 19-22 та РБП 24-22 подається імпульсна команда на електромагніти ЕМ4 та ЕМ6.
В електросхемі верстата передбачені такі блокування:
При цьому від перевантажувального елемента коробки подач через систему важелів спрацьовує колійний перемикач КБ, що негайно включає швидке відведення супорта, і одночасно натискається кнопка АТ, що по ланцюгу 1-61-65-66-67 включає реле несправності супорта РСН.
Останнє переходить на саможивлення, забороняючи контактом РСН 55-64 запуск наступного циклу. Одночасно на пульті керування за допомогою контакту РСН 1-30 спалахує сигнальна лампочка "Супорт відведений". Після усунення несправності реле РСН може бути відключено шляхом натискання кнопки СС - скидання сигналу.
Захист електродвигунів верстата від струмів коротких замикань та від тривалих перевантажень здійснюється автоматичними вимикачами з максимальними розщеплювачами та тепловими реле, що оберігають двигуни від тривалих перевантажень.
Захист трансформатора ланцюга керування ТПУ від струмів коротких замикань здійснюється:
Захист кремнієвих діодів здійснюється запобіжником П3.
Нульовий захист електроустаткування верстата, що забезпечує неможливість мимовільного включення при відновленні подачі електроенергії після раптового її зникнення, здійснюється котушками пускачів, які при зниженні напруги відключають електродвигуни.

Схема електрична вертикального багатошпиндельного токарного верстата 1К282

Схема електрична вертикального багатошпиндельного токарного верстата 1К282

Схема електрична вертикального багатошпиндельного токарного верстата 1К282

Схема електрична вертикального багатошпиндельного токарного верстата 1К282

Перелік елементів вертикального багатошпиндельного токарного верстата 1К282

Перелік елементів вертикального багатошпиндельного токарного верстата 1К282

Перелік елементів вертикального багатошпиндельного токарного верстата 1К282

Перелік елементів вертикального багатошпиндельного токарного верстата 1К282

Перелік елементів вертикального багатошпиндельного токарного верстата 1К282

Схема електрична з'єднань вертикального багатошпиндельного токарного верстата 1К282
| Найменування параметру | 1K282 | 1283 |
|---|---|---|
| Основні параметри верстату | ||
| Клас точності верстата за ГОСТ 8-71 | Н | Н |
| Найбільший діаметр виробу, що обробляється, мм | 250 | 400 |
| Відстань від основи верстата до верхнього торця шпинделя, мм | 1127 | 1127 |
| Кількість шпинделів | 8 | 8 |
| Кількість супортів | 7 | 7 |
| Шпиндель | ||
| Кількість робочих швидкостей шпинделя - низький ряд | 28 | 28 |
| Кількість робочих швидкостей шпинделя – високий ряд | 25 | 25 |
| Кількість робочих швидкостей шпинделя – сумарна | 50 | 50 |
| Частота обертання шпинделя - силове виконання (низький + високий ряд), об/хв | 42..628 | 28..410 |
| Частота обертання шпинделя - швидкісне виконання (низький + високий ряд), об/хв | 66..980 | 43..635 |
| Затискач виробу | Гідравліч | Гідравліч |
| Осьове зусилля затиску на штоку, кН | 28 | 33 |
| Хід штока, мм | 40 | 40 |
| Найбільший момент, що крутить, на шпинделі не менше, Нм (кг*м) | 1000 | 1300 |
| Подання | ||
| Найбільше переміщення (хід) супорта, мм | 350 | 350 |
| Найбільше поперечне переміщення (поперечний хід) супорта, мм | 100 | |
| Кількість дрібних подач супорту | 38 | 38 |
| Кількість великих подач супорту | 35 | 30 |
| Сумарна кількість подач супорту | 73 | 68 |
| Діапазон швидкостей подачі супорта - силове виконання, мм/об | 0,064..4,05 | 0,094..3,85 |
| Діапазон швидкостей подачі супорта - швидкісне виконання, мм/об | 0,041..3,43 | 0,064..4,0 |
| Швидкість швидкого переміщення супорту, м/хв. | 3,5 | 3,5 |
| Найбільше тягове зусилля супорта, кН | 15 | 15 |
| Електроустаткування верстата | ||
| Кількість електродвигунів на верстаті, кВт | 4 | 4 |
| Електродвигун головного приводу, кВт | 22, 30, 40, 55 | 22, 30, 40, 55 |
| Електродвигун гідроприводу, кВт | 5,5 | 4 |
| Електродвигун повороту столу, кВт | 2,0 | 2,2 |
| Електродвигун насоса охолодження, кВт | 0,6 | 0,6 |
| Габарити та маса верстату | ||
| Габаритні розміри верстата (довжина, ширина, висота), мм | 3070 х 2945 х 3872 | 3252 х 3065 х 3942 |
| Маса верстата, кг | 19000 | 19900 |