metalinstryment.com
Довідник по металорізальних верстатів та пресовому обладнанні

Коробка подач фрезерных верстатів
схеми, опис, характеристики

Коробка подач фрезерных верстатів







Відомості про виробника консольно-фрезерных верстатів серии 6М

Производитель фрезерных верстатів серии 6М Горьковский завод фрезерных верстатів, ГЗФС, основанный в 1931 году.





Продукция Горьковского завода фрезерных верстатів ГЗФС


История выпуска верстатів Горьковским заводом, ГЗФС

В 1937 году на Горьковском заводе фрезерных верстатів были изготовлены первые консольно-фрезерные верстати серии 6Б моделей 6Б12 і 6Б82 з рабочим столом 320 х 1250 мм (2-го типоразмера).

В 1951 году запущена в производство серия консольно-фрезерных верстатів: 6Н12, 6Н13П, 6Н82, 6Н82Г. Верстат 6Н13ПР получил “Гран-При” на всемирной выставке в Брюсселе в 1956 году.

В 1960 году запущена в производство серия консольно-фрезерных верстатів: 6М12П, 6М13П, 6М82, 6М82Г, 6М83, 6М83Г, 6М82Ш.

В 1972 году запущена в производство серия консольно-фрезерных верстатів: 6Р12, 6Р12Б, 6Р13, 6Р13Б, 6Р13Ф3, 6Р82, 6Р82Г, 6Р82Ш, 6Р83, 6Р83Г, 6Р83Ш.

В 1975 году запущены в производство копировальные консольно-фрезерные верстати: 6Р13К.

В 1978 году запущены в производство копировальные консольно-фрезерные верстати 6Р12К-1, 6Р82К-1.

В 1985 году запущена в производство серия 6Т-1 консольно-фрезерных верстатів: 6Т12-1, 6Т13-1, 6Т82-1, 6Т83-1 і ГФ2171.

В 1991 году запущена в производство серия консольно-фрезерных верстатів: 6Т12, 6Т12Ф20, 6Т13, 6Т13Ф20, 6Т13Ф3, 6Т82, 6Т82Г, 6Т82ш, 6Т83, 6Т83Г, 6Т83Ш.






Сравнительные характеристики консольно-фрезерных верстатів

Коробка подач фрезерных верстатів серии 6М. Назначение, область применения

Консольно-фрезерные верстати серии М выпускались Горьковским заводом фрезерных верстатів (ГЗФС) начиная з 1961 года. Верстати сходны между собой по конструкції, широко унифицированы і является дальнейшим усовершенствованием аналогичных верстатів серии Н.

В 1972 году запущены в производство консольно-фрезерные верстати серии .

Конструкція і принцип роботи коробки подач фрезерных верстатів серии 6М

Коробка подач обеспечивает получение рабочих перемещений стола по 3-м координатам.

Коробка подач является самостоятельным узлом, монтируемым з левой стороны консоли. Она одинакова для всей гаммы верстатів, — 6М12П, 6М13П, 6М82, 6М82Г, 6М83, 6М83Г, 6М82Ш.


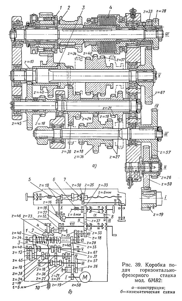
Кінематична схема консольно-фрезерного верстата серии 6М

Кінематична схема консольно-фрезерного верстата серии 6М

Кінематична схема консольно-фрезерного верстата серии 6М. Дивитись у збільшеному масштабі



Привід подач осуществляется от отдельного фланцевого електродвигуна мощностью 1,7 кВт при 1420 об/мин, смонтированного в консоли. Через коробку подач ходовым гвинтам продольного і поперечного перемещений стола сообщаются 18 различных подач в пределах от 25 до 1250 мм/мин, а винту вертикального переміщення стола — 18 различных подач в пределах от 8,3 до 416,6 мм/мин.

Вал I коробки подач (см. рис. 272) приводится во вращение непосредственно електродвигуном; от него вращение передається валу II зубчатой парой (26:50), валу III — зубчатой парой (26:57), валу IV—зубчатыми парами (18:36), или (27:27), или (36:18), валу V — зубчатыми парами (18:40), или (21:37), или (24:34) і далее валу VI через перебор (13:45) — (18:40) или непосредственной зубчатой передачей (40:40).

С вала VI рух передається:


Продольные подачі стола консольно-фрезерного верстата

Продольные подачі стола консольно-фрезерного верстата

Продольные подачі стола консольно-фрезерного верстата. Дивитись у збільшеному масштабі



В табл. 28 приведены возможные увімкнення зубчатых колес для осуществления 18 различных продольных подач. Поперечные подачі имеют те же значения, вертикальные подачі — в три раза меньшие.


Поперечные подачі салазок консольно-фрезерного верстата серии 6м

Поперечные подачі салазок консольно-фрезерного верстата серии 6м

Поперечные подачі салазок консольно-фрезерного верстата серии 6м. Дивитись у збільшеному масштабі



В табл. 29 приведены увімкнення зубчатых колес для двух крайних значений поперечных подач s1 і s18, а в табл. 30 — для двух крайних значений вертикальних подач s1 і s18.

При быстром перемещении стола коробка подач отключается і рух передається от електродвигуна по ланцюги 26:50; 50:67; 67:33 к валу VI і далее изложенным выше способом передачи руху. Скорость быстрых продольного і поперечного перемещений составляет 3000 мм/мин, вертикального переміщення 1000 мм/мин.

Для лучшего понимания кінематичної схеми ланцюги подач на рис. 280 приводится разрез коробки подач.





Коробка подач консольно-фрезерного верстата

Коробка подач консольно-фрезерного верстата. Рис.280

1. Коробка подач консольно-фрезерного верстата. Дивитись у збільшеному масштабі

2. Коробка подач консольно-фрезерного верстата. Дивитись у збільшеному масштабі



Коробка подач консольно-фрезерного верстата

Коробка подач консольно-фрезерного верстата

Коробка подач консольно-фрезерного верстата. Дивитись у збільшеному масштабі



Коробка подач консольно-фрезерного верстата

Коробка подач консольно-фрезерного верстата

Коробка подач консольно-фрезерного верстата. Дивитись у збільшеному масштабі



Коробка подач консольно-фрезерного верстата

Коробка подач консольно-фрезерного верстата

Коробка подач консольно-фрезерного верстата. Дивитись у збільшеному масштабі



Коробка подач консольно-фрезерного верстата

Коробка подач консольно-фрезерного верстата

Коробка подач консольно-фрезерного верстата. Дивитись у збільшеному масштабі



На рис. 280 дана развертка коробки подач, причем обозначения валов і зубчатых колес соответствуют схеме на рис. 272.

От електродвигуна (на рис. 280 не показан) через зубчатое колесо z=26 вращение передається на вал II при помощи зубчатого колеса z = 50, а от него через зубчасті колеса 26:57 на вал III, затем при помощи блоков зубчатых колес на валы IV, V і VI. Вал VI получает 18 различных чисел оборотів — от 10 до 480 об/мин — для осуществления рабочих подач стола, салазок і консоли.

Для быстрых перемещений вращение от електродвигуна (на рис. 280 не показан) передається на вал VI через зубчатое колесо z=26, промежуточные зубчасті колеса z = 50 і z=67, минуя коробку подач, на зубчатое колесо 16 (z = 33). При такой передаче вал VI получает постоянное число оборотів, равное 1120 об/мин.

Вал VI называется фрикционным валом коробки подач і обозначен на рис. 280 цифрой 14.

Фрикционный вал 14 передает вращение, полученное им через зубчасті колеса z=40 или z=67, в консоль через вал VII (см. рис. 272) при помощи зубчатых колес 2=28 і 2=35 для осуществления либо рабочих подач, либо быстрых перемещений; для етой цели на нем установлены две муфты — кулачковая 6 і фрикционная многодискова 13 (рис. 280). Для передачи в консоль рабочих подач включается муфта 6, а для передачи швидкого переміщення — муфта 13.

Муфта 6 може перемещаться на шпонке 4 вдоль втулки 5, которая нерухомо сидит на шпонке на фрикционном валу 14. При перемещении муфты 6 влево она сцепляется з кулачковой втулкой 3 зубчатого колеса 2 (z=40), находящегося в постоянном зацеплении з зубчатым колесом 1 (z=40) перебора коробки подач; таким образом, фрикционный вал получает от коробки подач 18 различных швидкостей в зависимости от положения переключаемых зубчатых колес коробки подач.

Зубчатое колесо 2 является корпусом предохранительной муфты, которая выключается, если усилие при фрезеровании внезапно повысится сверх допускаемого механізмом рабочих подач. При перегрузке механізма рабочих подач двенадцать шариков, находящихся в контакте з отверстиями фланца кулачковой втулки, сжимают пружины і выходят из контакта з отверстиями фланца, вследствие чего зубчатое колесо 2 (z=40) предохранительной муфты начинает проскальзывать относительно кулачковой втулки 3 і рабочая подача прекращается.

При перемещении муфты 6 вправо она свяжет фрикционную многодисковую муфту 13 з фрикционным валом. Корпус фрикционной муфты вращается з постоянным числом оборотів (1120 об/мин) от електродвигуна через зубчатое колесо 16 (z=33), сидящее на хвостовике корпуса фрикционной муфты 13, минуя коробку подач. В корпусе фрикционной муфты имеются закаленные диски 11 толщиной 1,5 мм. Между етими дисками чередуются такой же толщины диски 12, сцепленные з втулкой фрикционной муфты 13. При нажатии кулачковой муфты 6 на фланец 7 і через гайку 10 на диски 11 і 12 они, сжимаясь начинают передавать вращение швидкого ходу от корпуса втулке многодисковий муфты і валу 14. Фиксатор 8 запирает кольцо 9 регулювання зазору в дисках. Зубчатое колесо 15 (2=28) сидит на шпонке на фрикционном валу 14 і через зубчатое колесо 2 = 35 передает рух по цепям рабочих подач і швидкого переміщення в консоль.

Фрикционная многодискова муфта включается нажимом кнопки «быстро стол» кнопочной станції (см. рис. 276). При нажатии кнопки срабатывает електромагнит 1 (рис. 281) і втягивает шток 2, который через рычаг 3, валик 4 і вилку 5 перемещает вправо кулачковую муфту. После того как кнопка отпущена, пружина 6 возвращает кулачковую муфту в исходное положение, т. е. в положение увімкнення, з зубчатым колесом предохранительной муфты.


Увімкнення швидкого ходу стола консольно-фрезерного верстата

Увімкнення швидкого ходу стола консольно-фрезерного верстата

Увімкнення швидкого ходу стола консольно-фрезерного верстата. Дивитись у збільшеному масштабі



Таким образом, увімкнення швидкого ходу стола можно производить нажимом кнопки «быстро стол» при включенной рабочей подаче і чередовать быстрый ход (подвод заготовки) — рабочая подача — быстрый ход (отвод заготовки).


Муфты фрикционного вала консольно-фрезерного верстата

Муфты фрикционного вала консольно-фрезерного верстата

Муфты фрикционного вала консольно-фрезерного верстата. Дивитись у збільшеному масштабі



На рис. 282 показаны муфты фрикционного вала подач; для удобства обозначения на рис. 282 соответствуют обозначениям на рис. 280.


Механізм переключения подач консольно-фрезерного верстата

Механізм переключения подач консольно-фрезерного верстата

Механізм переключения подач консольно-фрезерного верстата. Дивитись у збільшеному масштабі



К корпусу коробки подач привернут механізм переключения подач (рис. 283), имеющий в передньої частини лимб для установки грибка на нужную подачу; подробно о назначении лимба і грибка было рассказано на стр. 41 (см. рис. 28, б). Переключення подач производится так же, как і переключение швидкостей. В данном случае необходимо грибок потянуть на себя і повернуть его вместе з лимбом до совпадения нужной подачі со стрелкой-указателем і затем вдвинуть его обратно. При етом диск, аналогичный диску 14 (см. рис. 278), перемещает три пары реек, на которые посажены вилки, охватывающие шейки блоков зубчатых колес і устанавливающие их в положение, соответствующее выбранной подаче.




Консоль

В консоли расположены все вузли ланцюги подач. На рис. 284 схематически показана консоль фрезерных верстатів 2-й гаммы з механізмами передачи руху от електродвигуна к столу, салазкам і самой консоли.


Механізми подач консольно-фрезерного верстата

Механізми подач консольно-фрезерного верстата

Механізми подач консольно-фрезерного верстата. Дивитись у збільшеному масштабі



Консоль (рис. 285) имеет чугунный корпус з развитыми направляющими профиля «ласточкин хвост» под станину і перпендикулярные к ним прямоугольные направляющие под салазки. Консоль несет на себе наступні органы керування:


Загальний вигляд  консоли консольно-фрезерного верстата

Загальний вигляд консоли консольно-фрезерного верстата

Загальний вигляд консоли консольно-фрезерного верстата. Дивитись у збільшеному масштабі



Рукоятку 5 увімкнення поперечної і вертикальной подач, мнемонически связанную з направлением переміщення салазок і консоли. Это значит, что направление поворота рукоятки 5 совпадает з направлением руху перемещаемого вузла. Рукоятка 5 имеет п'ять фиксированных положений: рабочая подача или быстрый ход консоли вверх, рабочая подача или быстрый ход консоли вниз, рабочая подача или быстрый ход салазок вперед «к себе», рабочая подача или быстрый ход салазок назад «от себя», стоп вертикального і поперечного ходов.

Дублирующую рукоятку 1 увімкнення поперечної і вертикальной подач, расположенную з левой стороны консоли на корпусе коробки подач; по характеру роботи она совершенно аналогична основной рукоятке 5 і повторяет її руху.

Кулачки виключення поперечної подачі (см. поз. 24 на рис. 26 і 27), воздействуя на рычаг 3, возвращают включенные рукоятки 5 і 1 в нейтральное положение путем переміщення тяги 4 і тем выключают поперечний ход салазок. Тяга 4 заканчивается рычагом 2, который под воздействием кулачков виключення вертикальной подачі, закрепленных в планке станины (ом. поз. 23 на рис. 26 і 27), поворачивает її і выключает вертикальний ход консоли.

Наличие двух рукояток 5 і 1 позволяет фрезеровщику управлять вертикальными і поперечными ходуми не только спереди, но і сбоку верстата, что може понадобиться при фрезеровании торцовыми или кінцівыми фрезами задньої поверхности заготовки.

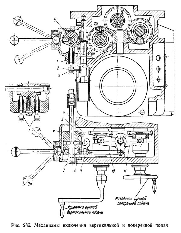
Конструкція рукояток керування поперечными і продольными подачами дана на рис. 286. Шаровой конец рукоятки входит в отверстие барабана 6, заштифтованного на тяге, идущей к коробке увімкнення подач на консоли. При движении рукоятки вправо или влево связанный з ней барабан соответственно движется поступательно, а при движении рукоятки вверх или вниз соответственно поворачивается.


Механізми увімкнення вертикальной і поперечної подач консольно-фрезерного верстата

Механізми увімкнення вертикальной і поперечної подач консольно-фрезерного верстата

Механізми увімкнення вертикальной і поперечної подач консольно-фрезерного верстата. Дивитись у збільшеному масштабі



Барабан своими скосами управляет, как копир, яри помощи рычажной системы включением кулачковых муфт поперечної і вертикальной подач, а при помощи штифтов — конечными выключателями, расположенными внизу барабана.

Увімкнення кулачковой муфты гвинта поперечної подачі происходит при осевом перемещении барабана 6; в етом случае скосы барабана, воздействуя на шарик 7 и, освобождая ролик 5, через планку 4 і тягу 10 поворачивают рычаг 11 против часовий стрелки, в результате чего правый сухарь, закрепленный штифтом на рычаге і входящий в кольцевой паз кулачковой муфты поперечної подачі, производит її включение.

Кулачковая муфта гвинта вертикальной подачі включается при вращательном движении барабана 6, когда его скосы, воздействующие на ролик 5 і освобождающие шарик 7, через планку 4 і тягу 10 поворачивают рычаг 11 в обратном направлении, включают муфту вертикальной подачі і отключают муфту поперечної подачі.

Нижние скосы барабана 6 воздействуют на штифты 1, а штифты через рычажки 2 — на ролики конечных выключателей, которые дают команду реверсивному пускателю електродвигуна приводу подачі. Скосы барабана работают в следующем порядке:

Конечные выключатели сблокированы так, что при включении поперечної или вертикальной подач нельзя включить продольную подачу і наоборот.

Гайка 9 і винт 8 служат для регулировки люфта в системе увімкнення муфт; контргайка 3 служит для регулировки штифта 1 увімкнення конечных выключателей.




Стол і салазки

Стол является післядним елементом в ланцюги подач і може перемещаться по направляющим салазок в продольном, вместе з салазками по направляющим консоли в поперечном і вместе з салазками і консолью по направляющим станины в вертикальном направлениях. Все ети переміщення сблокированы между собой таким, образом, что одновременное увімкнення их невозможно.


Загальний вигляд  стола і салазок консольно-фрезерного верстата

Загальний вигляд стола і салазок консольно-фрезерного верстата

Загальний вигляд стола і салазок консольно-фрезерного верстата. Дивитись у збільшеному масштабі



На рис. 287 дан общий вигляд стола і салазок универсально-фрезерного верстата 6М82. Салазки етого верстата отличаются от салазок горизонтально-фрезерного 6М82Г і вертикально-фрезерного 6М12П верстатів только наличием градуированной плиты, позволяющей поворачивать стол на 45° в обоих направлениях от среднего положения.

Стол верстата може быть настроен на напівавтоматический или ручной цикл роботи, для чего на дверке правого електрошафи необходимо поставить среднюю рукоятку в соответствующее положение «Керування от кулачков включено» или «Керування от кулачков выключено».

На столе і салазках находятся наступні органы керування верстатом:

Рукоятка продольного ходу стола

Рукоятка 5 продольного ходу стола, устанавливаемая в три положения «подача вправо», «подача влево» і «стоп». Установка рукоятки продольного ходу в положение «стоп» выключает правую или левую рабочую подачу, правое или левое быстрое перемещение во всех случаях, независимо от налаштування верстата на автоматический цикл или ручное керування.

Дублирующая рукоятка продольного ходу стола

Дублирующая рукоятка 11 продольного ходу стола, расположенная внизу салазок, дает возможность включать і выключать продольную подачу в то время, когда фрезеровщик находится сбоку верстата (сзади стола). Эта рукоятка механически связана з основной рукояткой 5 продольного ходу і полностью повторяет її руху.

Кулачки для роботи по напівавтоматическому циклу

Кулачки для роботи по напівавтоматическому циклу. Автоматическая остановка левого і правого ходов стола производится кулачками 2 (останов ходу стола влево) і 1 (останов ходу стола вправо), перемещаемыми по пазу стола. Чтобы не превысить наибольшего возможного ходу стола (700 мм), перерух кулачков по пазу стола ограничено двумя ввертышами. Если необходимо стол остановить не в крайних точках его продольного ходу, кулачки 1 і 2 ставят і закрепляют в необходимом месте. Оба кулачка 1 і 2 не должны никогда сниматься со верстата, так как они предохраняют стол от перебега, если фрезеровщик не остановит вовремя стол при ручном управлении.

Кулачки 3 і 4 переключают рабочую подачу на быстрый ход или быстрый ход на рабочую подачу при правом і левом ходух стола. Кулачки 3 і 4 работают только в том случае, если рукоятка на правой дверке електрошафи находится в положении «Керування от кулачков включено», т. е. при налаштуванні на напівавтоматический цикл. При работе з ручным керуванням рекомендуется ети кулачки переставить на неработающую часть стола или снять.

Кнопочная станція

Кнопочная станція 6, расположенная справа на передньої плоскости салазок, имеет кнопки «шпиндель», «быстро» і «стоп». Кнопкой «стоп» отключаются все руху в станке. Если рукоятки увімкнення механических подач (поздовжньої, поперечної і вертикальной) находятся не в нейтральном положении, то з включением кнопки «шпиндель» одновременно включается і соответствующая подача. Кнопка «быстро» включает быстрый ход стола, салазок или консоли при условии, что соответствующие рукоятки подачі включены в нужном направлении. При освобождении кнопки «быстро» быстрый ход прекращается. Кнопочная станція 6 на салазках дублирует основні кнопки кнопочной станції, расположенной на корпусе механізма переключения швидкостей:

Рукоятки для зажиму салазок на консоли

Рукоятки 8 і 10 служат для зажиму салазок на консоли і дают возможность увеличить жесткость системы при тяжелых режимах на поздовжньої подаче. Включать поперечний ход при поджатых рукоятках 8 і 10 зажиму салазок нельзя.

Ограничительные кулачки

Ограничительные кулачки 9 поперечного ходу салазок (см. также поз. 24 рис. 26 і 27) предназначаются для автоматичного виключення поперечної подачі или поперечного швидкого ходу в требуемом месте. Внутри паза салазок, аналогично столу, имеются два гвинта ограничивающих перерух кулачков за пределы наибольшего поперечного ходу салазок, равного 240 мм.

Рукоятка ручной змазки салазок

Рукоятка 12 ручной змазки салазок расположена з левого торца корпуса салазок. Насос привинчен к внутреннему приливу салазок; в приливе имеется полость, в которую заливается масло через фильтр 14 до уровня, показываемого маслоуказателем 13.

Винты для поджатия клина

Винты 7 для поджатия клина предназначаются для выборки зазоров в скосах стола при фрезеровании з большими сечениями стружки, если оно ведется кратковременно і фрезеровщику нежелательно нарушать хорошую регулировку клина по длине.

С левого торца стола, на цапфе ходового гвинта, смонтирован маховичок 15 для ручных продольных перемещений стола. Второй маховичок 15а для ручных продольных перемещений расположен справа на переднем торце салазок. Цена делений лимбов — 0,05 мм. За один поворот левого маховичка стол перемещается на 6 мм; за один оборот переднего маховичка — на 4 мм.




Механізм увімкнення рабочей поздовжньої подачі


Разрез по рукоятке поздовжньої подачі стола консольно-фрезерного верстата

Разрез по рукоятке поздовжньої подачі стола консольно-фрезерного верстата



Рукоятка 5 продольного ходу (рис. 288) имеет на своей ступице со стороны, обращенной к столу, два выступа, расположенные на разной высоте; на выступы воздействуют кулачки 1 і 2. (см. рис. 287), поворачивающие рукоятку продольного ходу і ставящие її в положение «стоп». Это обеспечивает автоматическое вимкнення левого или правого ходу стола при ручном или напівавтоматическом цикле.


Вид на салазки сверху консольно-фрезерного верстата

Вид на салазки сверху консольно-фрезерного верстата

Вид на салазки сверху консольно-фрезерного верстата. Дивитись у збільшеному масштабі



Рукоятка 5 жестко соединена з осью 16, которая вращаясь в игольчатом подшипнике 19 і втулке 20, поворачивает копир 21. Копир находится в контакте з роликом 24 (рис. 289), который при повороте рукоятки 5 і оси 16 катится по кривой копира. При среднем (нейтральном) положении рукоятки 5 ролик 24 находится в глубокой (средней) впадине копира 21 (см. рис. 289), при крайних положениях (вправо или влево) — в одной из боковых (мелких) впадин.

Рух ролика через рычаг 25 передається штоку 32 і через систему рейка — шестерня 38 — рейка на валик 37 і вилку 35, ведущую кулачковую муфту 34. При положении ролика 24 в средней (глубокой) выемке копира 21, т. е. при среднем положении рукоятки 5, кулачковая муфта 34 выключается. При положениях ролика 24 в боковых (мелких) выемках копира, т. е. при включенных положениях рукоятки 5, кулачковая муфта 34 включается.

Шток 32 поджат з левого торца пружиной 31, регулируемой пробкой 30. Внутри штока 32 имеется малая пружина, обеспечивающая возможность увімкнення рукоятки 5 продольного ходу при попадании зуба на зуб в кулачковой муфте 34. Регулювання малой пружины производится пробкой 29 при помощи ключа, который вставляется через отверстие пробки 30.

Дублирующая рукоятка 11 через систему рычагов і тягу 28 связана з копиром 21 і через него з основной рукояткой 5. На тяге 28 имеется выступ а, контактирующий з левым плечом рычага 25. Когда ролик 24 входит в правую мелкую впадину копира 21 (при включении рукоятки 5 продольного ходу вправо), рычаг 25 нажимает на выступ а тяги 28, опускает палец 27. левого конечного выключателя 26 і включает електродвигатель подачі в прямом направлении обертання.

При установці рукоятки 5 в среднем положении (вручную или от кулачков 1 і 2) ролик становится в глубокую выемку копира і палец конечного выключателя под действием пружины выключает електродвигатель. Выключение електродвигуна происходит після виключення кулачковой муфты 34.

При включении рукоятки 5 влево ролик 24 входит в левую мелкую впадину копира, тяга 28 опускает палец 27 правого конечного выключателя 26 і реверсирует електродвигатель подачі.

На переднем торце салазок, з правой стороны, крепится маховичок 15а ручного продольного переміщення стола. Маховичок через коническую зубчатую передачу 24:18 і цилиндрическую передачу 25:50 связан з гайкой ходового гвинта. При включении кулачковой муфты, т. е. при механической подаче стола, маховичок 15а отключается.





6М12П Верстат консольно-фрезерный вертикальний з поворотной головкой. Відеоролик.







    Список литературы:

  1. Аврутин С.В. Основы фрезерного дела, 1962
  2. Аврутин С.В. Фрезерне дело, 1963
  3. Ачеркан Н.С. Металлорежущие верстати, Том 1, 1965
  4. Барбашов Ф.А. Фрезерне дело 1973
  5. Барбашов Ф.А. Фрезерные роботи (Профтехобразование), 1986
  6. Блюмберг В.А. Справочник фрезеровщика, 1984
  7. Григорьев С.П. Практика координатно-расточных і фрезерных работ, 1980
  8. Копылов Р.Б. Работа на фрезерных верстатах, 1971
  9. Косовский В.Л. Справочник молодого фрезеровщика, 1992
  10. Кувшинский В.В. Фрезерование,1977
  11. Ничков А.Г. Фрезерные верстати (Библиотека станочника), 1977
  12. Пикус М.Ю. Справочник слесаря по ремонту металлорежущих верстатів, 1987
  13. Плотицын В.Г. Расчёты настроек і наладок фрезерных верстатів, 1969
  14. Плотицын В.Г. Наладка фрезерных верстатів,1975
  15. Рябов С.А. Современные фрезерные верстати і их оснастка, 2006
  16. Схиртладзе А.Г., Новиков В.Ю. Технологическое обладнання машиностроительных производств, 1980
  17. Тепинкичиев В.К. Металлорежущие верстати, 1973
  18. Чернов Н.Н. Металлорежущие верстати, 1988
  19. Френкель С.Ш. Справочник молодого фрезеровщика (3-е изд.) (Профтехобразование), 1978








Заказать

Кто владеет информацией - тот владеет миром.

Натан Ротшильд